吨袋设计图

吨袋底部及整体设计图2,圆型没有内衬袋的普通的集装袋产品,一般用在
图片尺寸501x766
集装吨袋 定做供应防静电type b集装袋 顶吊型方型集装袋
图片尺寸750x750
工程吊包吨袋1吨吨包袋太空袋加厚耐磨全新2吨吨袋吊袋固废污泥预压
图片尺寸750x910![供应吨袋[更新日期:2009-12-29]](https://i.ecywang.com/upload/1/img2.baidu.com/it/u=4118845305,2201972398&fm=253&fmt=auto&app=138&f=JPEG?w=345&h=500)
供应吨袋[更新日期:2009-12-29]
图片尺寸1306x1893
广东本地吨袋厂家
图片尺寸456x500
吨袋吨包袋1吨2吨太空袋集装袋预压污泥吊袋工地编织袋帆布袋园林树木
图片尺寸750x985
荣鑫塑料包装图1吨吨包袋沂南吨包袋
图片尺寸700x750
吨袋吨包编制农用吨袋1吨吨包袋加厚耐磨吊袋顿袋吨位袋吨装袋集装袋
图片尺寸750x1056
包袋工业吊包1吨2吨太空袋吨袋桥梁预压包污泥吨包袋
图片尺寸800x800
专业制作各种不变形吨袋和集装袋(图)
图片尺寸734x1024
定制加围带集装袋白色吨袋化工太空包常州吨袋厂家
图片尺寸750x750
一种便于卸料的吨包袋的制作方法
图片尺寸944x1000
安康吨袋安康吨袋厂安康吨袋公司吨装袋
图片尺寸800x800
一种导电超细粉拉筋吨袋的制作方法
图片尺寸367x443
一次性完全卸包吨袋制造技术
图片尺寸845x1000
东莞环亚吨袋厂www.sz-dundai.com,李芳的个人相册,八方商务空间
图片尺寸602x444
5t 吨包袋 生产厂家 pp吨袋 开口集装袋
图片尺寸900x1147
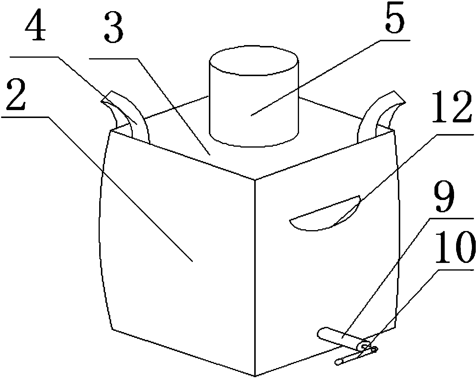
cn208102912u_一种用于钾长石50kg小包装的吊装吨袋有效
图片尺寸1627x1291
一种抗热空气老化湿热老化紫外老化集装袋的制作方法
图片尺寸913x1000
广西吨袋 广西吨袋厂 广西吨袋厂家 广西吨袋生产厂家 节约包装
图片尺寸750x750