吸塑机结构简图

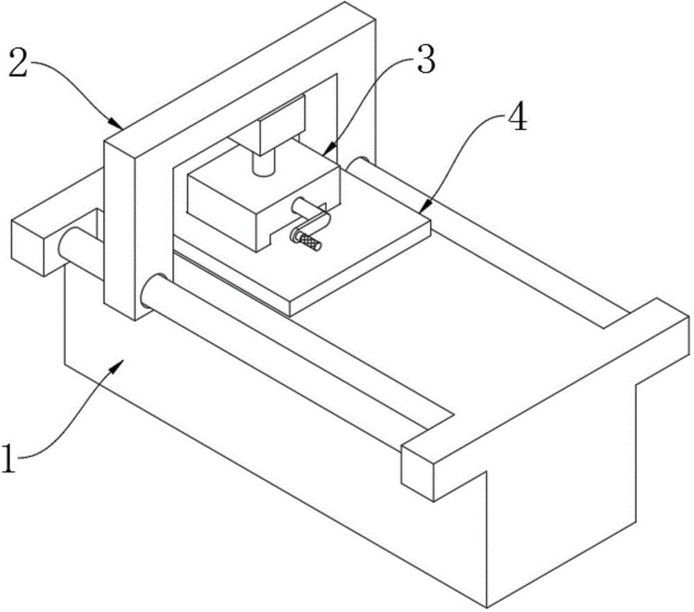
一种方便定位加工的吸塑机的制作方法
图片尺寸1000x956
plc厚片真空吸塑成型机汽车仪表台厚片吸塑机骏精赛供应
图片尺寸632x397
cn209504885u_一种方便定位加工的吸塑机有效
图片尺寸1509x1445
一种吸塑机制造技术
图片尺寸1000x894
一种真空吸塑机的自动上料结构
图片尺寸1193x1285
真空吸塑机常用的3种成型方式
图片尺寸893x444
一种箱包吸塑机的摆动压合装置的制作方法
图片尺寸1000x815
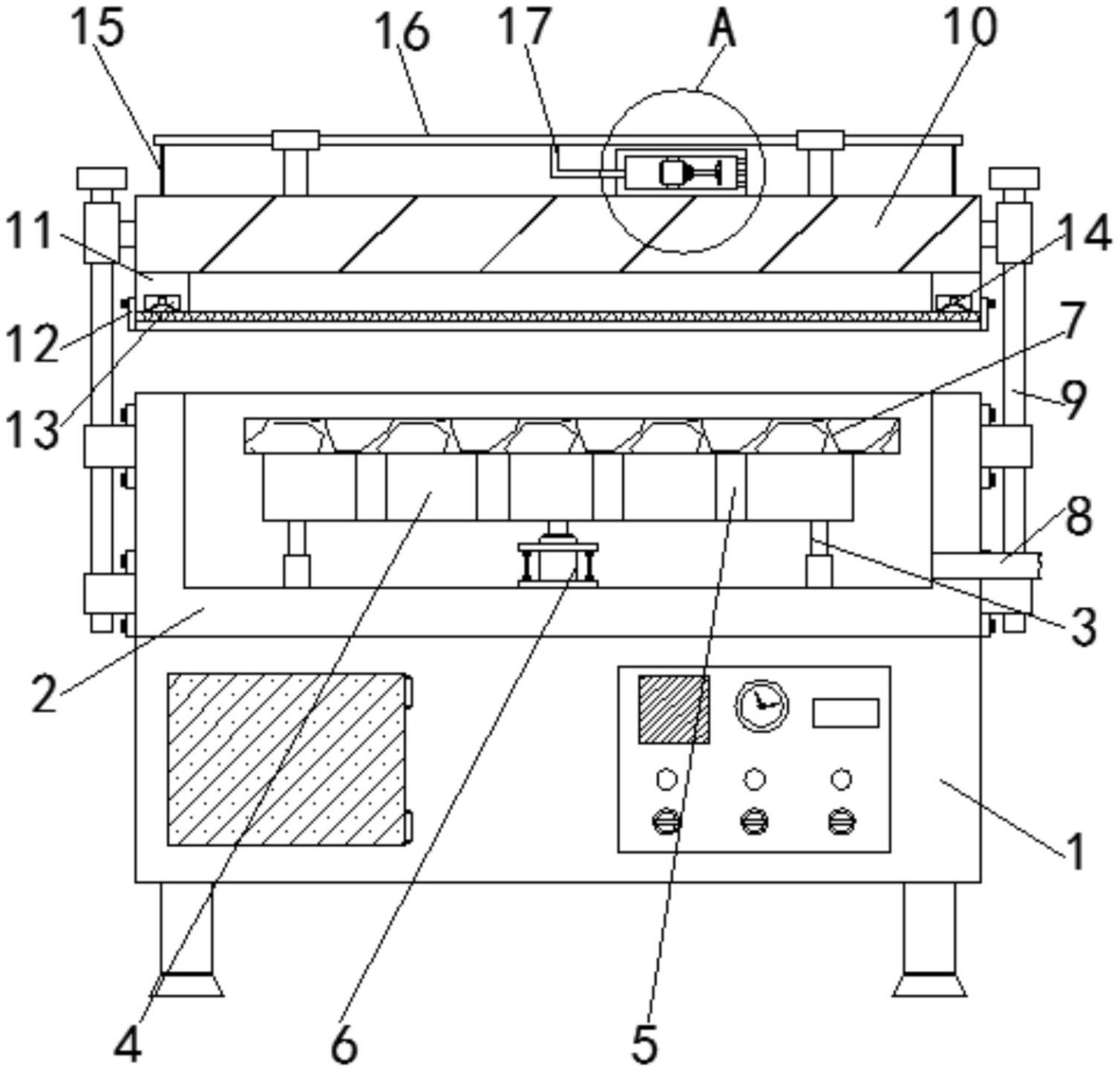
一种高效一体式吸塑机的制作方法
图片尺寸766x1000
一种带有加热装置的吸塑机制造方法及图纸
图片尺寸590x349
一种全自动吸塑包装机的制作方法
图片尺寸1000x932
一种自动化吸塑机
图片尺寸1000x512
一种方便更换压片的吸塑机
图片尺寸1000x882
应用非常广泛,但是现有的吸塑机在结构上仍然存在不完善的地方,例如
图片尺寸962x1000
一种圆锯片包装用吸塑机的制作方法
图片尺寸443x401
一种吸塑机的塑料制品切割装置的制作方法
图片尺寸382x443
cn204640770u_一种橡胶吸塑机有效
图片尺寸592x376
一种自动吸塑机的吸塑装置的制作方法
图片尺寸444x343
吸塑机
图片尺寸387x359
一种全自动吸塑机的制作方法
图片尺寸443x305
现有工厂内使用的吸塑机冲床,结构简单,使用不方便,自动化程度低
图片尺寸1000x909