吸塑盘怎么画

一种可堆叠的吸塑盘-爱企查
图片尺寸1945x1580
高强度吸塑盘-爱企查
图片尺寸1553x747
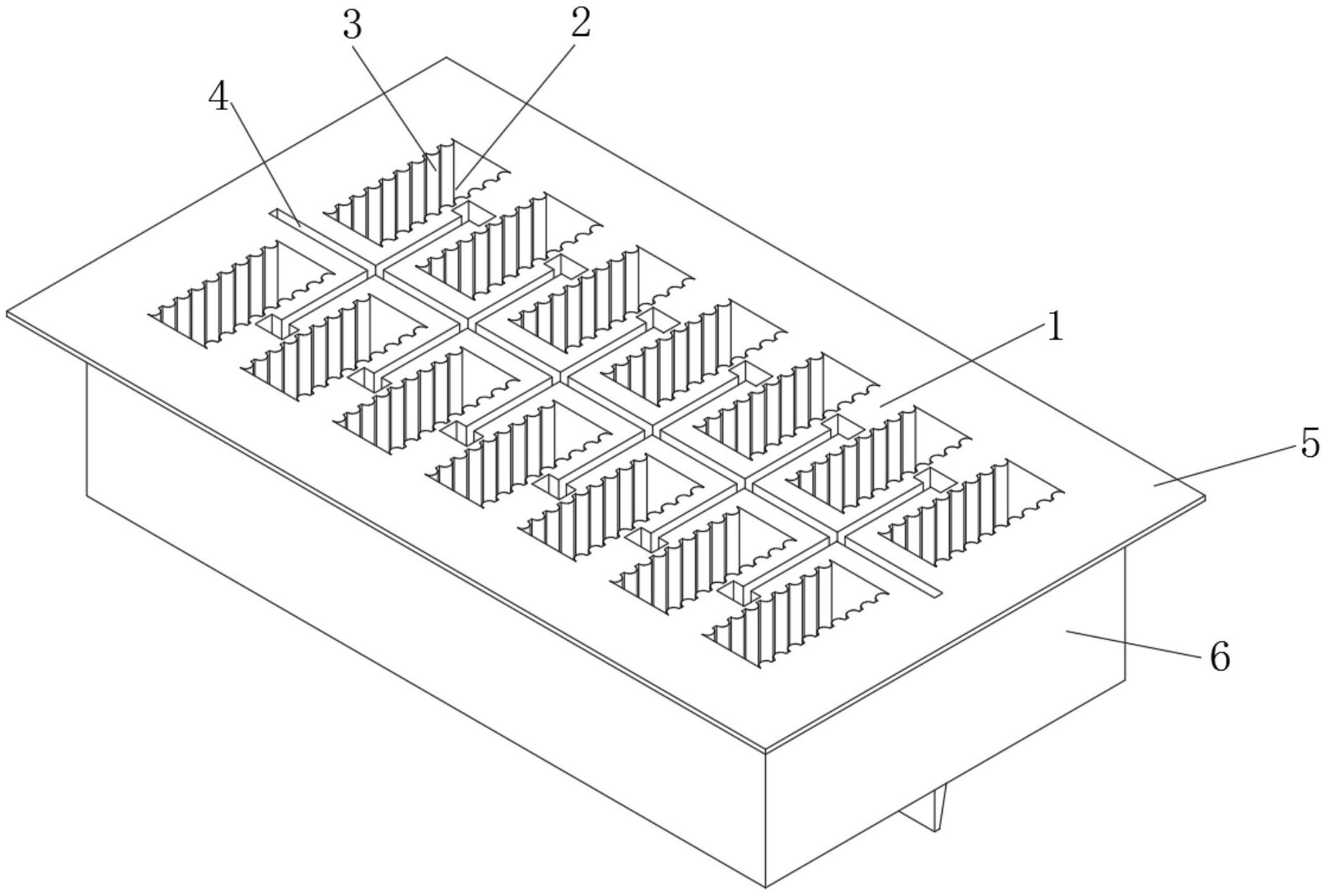
一种带有锯齿状加强筋的吸塑盘-爱企查
图片尺寸1847x1247
一种五金部件用防锈吸塑托盘-爱企查
图片尺寸1953x1006
一种精密仪器的吸塑盘-爱企查
图片尺寸800x505
完整真空吸盘
图片尺寸424x366
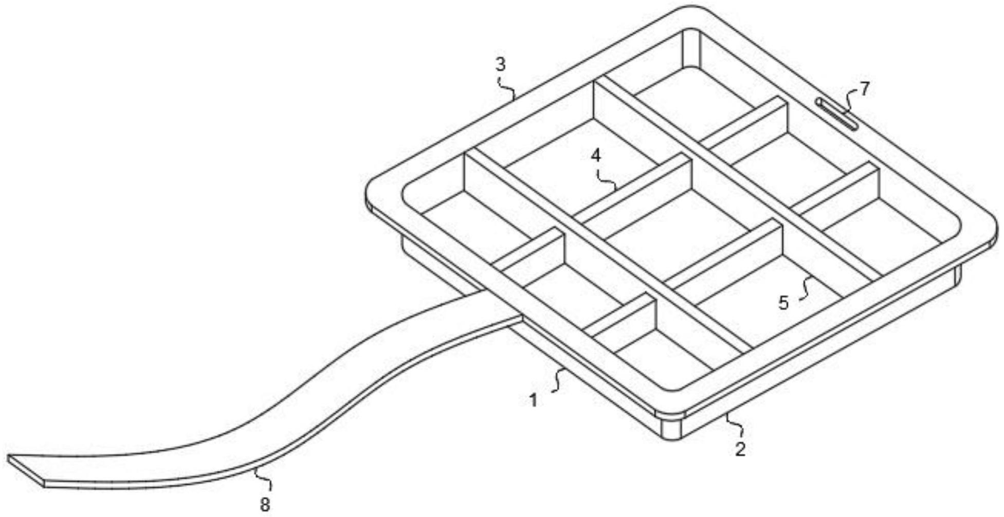
抗压防塌陷的组合式吸塑盘的制作方法
图片尺寸570x319
完整真空吸盘
图片尺寸353x366
吸盘
图片尺寸548x622
一种吸塑成型的按摩洗脚盘壳体的制作方法
图片尺寸444x436
cn2128678y_强力吸盘失效
图片尺寸800x1068
一种回收再利用的防静电组合式吸塑盘的制作方法
图片尺寸443x288
一种吸盘及选用这种吸盘的挂件的制作方法
图片尺寸1000x705
一种多功能吸盘的制作方法
图片尺寸572x516
cn213660369u_一种圆形伯努利吸盘有效
图片尺寸1170x853
吸盘(十四)
图片尺寸1024x696
一种吸盘的制作方法
图片尺寸777x1000
吸盘
图片尺寸552x625
平面吸盘
图片尺寸1861x1062
一种凸起式真空吸盘的制作方法
图片尺寸1000x899