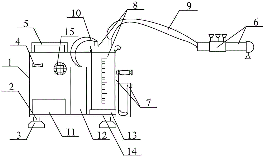
吸痰器装置图

本发明涉及吸痰器技术领域,具体是一种呼吸科用的吸痰装置.
图片尺寸1000x547
今天就来和你简单聊聊密闭式吸痰技术三两事
图片尺寸639x477
吸痰管与负压吸引器相连,可以及时清除病人口腔分泌物.
图片尺寸881x1174
图8密闭式吸痰装置冲洗指引建议八:机械通气时保持呼吸回路的密闭
图片尺寸1080x765
technology跟人工呼吸机换气同步运行的全自动吸痰装置a leanding
图片尺寸660x660
富林电动负压吸引器脚踏老人吸痰机家用牙科吸引机医用便携吸痰器
图片尺寸790x1102
摘要:本实用新型涉及便携式吸痰器,包括瓶体,瓶盖,负压装置和负压连接
图片尺寸640x1000
一种内科护理吸痰装置的制作方法
图片尺寸972x1000
具体为一种针对卧床呼吸科患者的吸痰装置,属于医疗器械技术领域
图片尺寸941x497
其它 也小乖的美篇 写美篇清倒吸痰瓶里的液体时,要把以上图片的三个
图片尺寸1200x1598
旗舰店 98-7医用电动吸痰器家用老人瘫痪病人儿童婴儿负压吸引机
图片尺寸750x1035
吸痰器
图片尺寸1268x1690
本实用新型涉及医疗器械技术领域,具体为一种重症临床用护理吸痰装置.
图片尺寸1000x690
手动吸痰器家用老人便携式儿童负压吸引器抽痰排痰器手枪式吸痰器
图片尺寸790x982
cn209695904u_儿科吸痰装置有效
图片尺寸1000x602
吸痰器家用老人手动式手持式bstc1型儿童婴儿吸痰器吸痰管467mm硅胶管
图片尺寸750x1009
一种心脏外科监护室护理用的吸痰装置的制作方法
图片尺寸443x349
便携式吸痰器
图片尺寸750x563
一种结核病人家用型吸痰护理装置制造方法及图纸
图片尺寸889x1000
简易吸痰器
图片尺寸1080x1440