吹瓶模具结构图

500ml矿泉水瓶吹塑模具结构图说明
图片尺寸1538x2344
用于注吹成型塑料包装瓶的模具结构设计
图片尺寸609x772
一种用于大口瓶吹吹法工艺生产的模具
图片尺寸914x1414
矿泉水瓶吹塑模设计
图片尺寸820x604
10l油壶吹塑模具结构图说明
图片尺寸1424x2318
一种pe塑料瓶吹塑成型模具的制作方法
图片尺寸925x1000
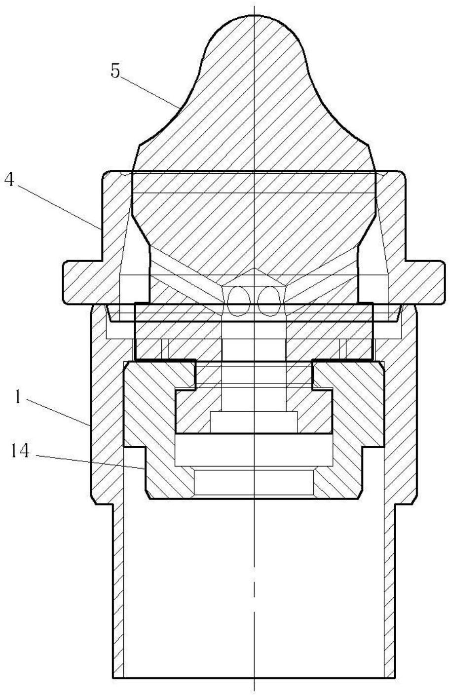
一种具有增加强度的结构的吹瓶模具的制作方法
图片尺寸420x443
100l方形包装桶吹塑模具结构图说明
图片尺寸1063x2326
一种吹瓶模具的底模-爱企查
图片尺寸800x662
cn100446960c_塑料输液瓶带环模内吹瓶的方法及其所用的模具有效
图片尺寸1468x1620
一种改进排气结构的吹瓶模具的制作方法
图片尺寸443x302
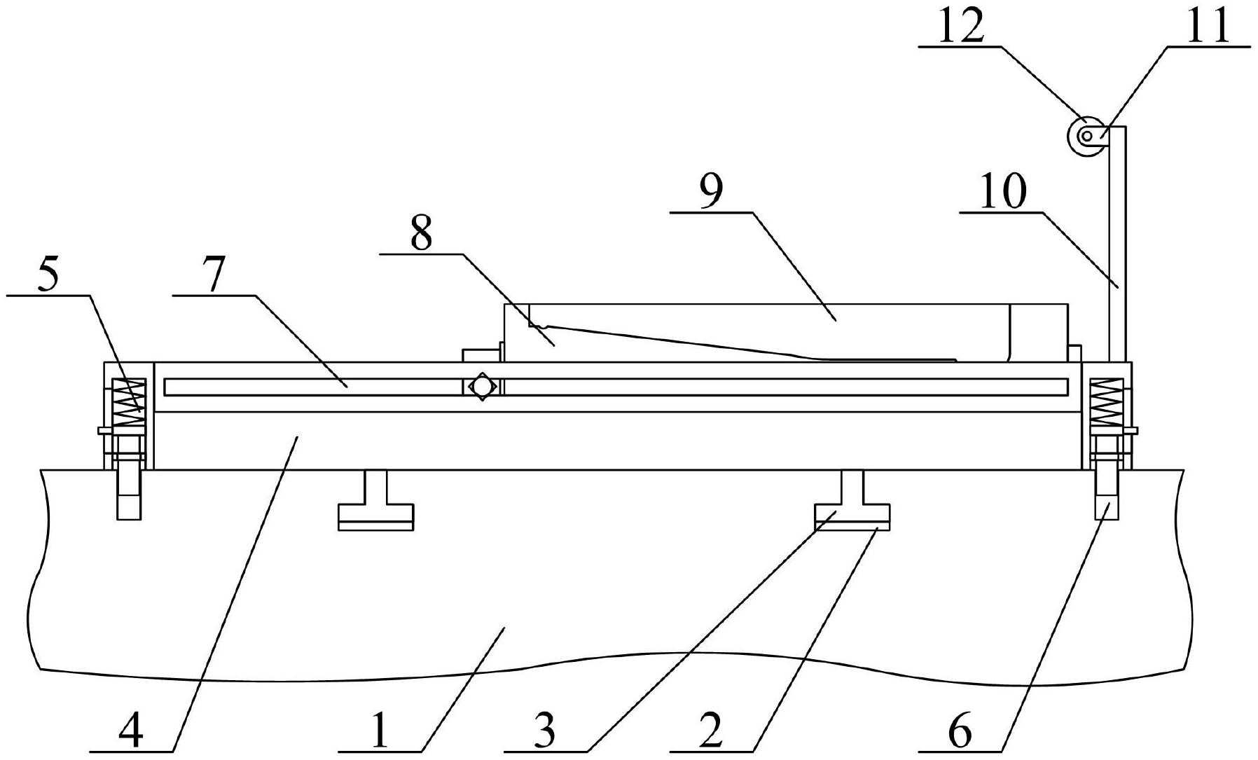
后置式pet吹瓶模具的手柄安装孔的成型机构
图片尺寸1773x2719
吹瓶机模头 - 模具相关设备图纸 -沐风网
图片尺寸300x225
一种吊环一体输液瓶的瓶胚模具
图片尺寸1638x1717
一种带有可动镶件的模腔结构及吹瓶模具-爱企查
图片尺寸587x800
本实用新型涉及一种玻璃瓶模具,特别是涉及一种玻璃瓶成型模.
图片尺寸815x633
首页 专利查询 广州市展新吹瓶模具有限公司专利 >正文 【技术实现
图片尺寸835x1000
架结构,底模,模具槽,支撑杆,支架和滚轮,所述的t型槽分别开设在吹瓶
图片尺寸1796x1085
典型模具结构图
图片尺寸750x1328
组合式结构与镶嵌式机构吹塑模具-江苏盐城响水县吹瓶空压机-格兰克林
图片尺寸600x452