咖啡渣简笔画

咖啡渣品味杯开箱活动重启 共抒"咖啡"环保新篇章
图片尺寸1080x764
cn111874407a_一种咖啡渣合成材料制成的外带杯在审
图片尺寸1083x1184
咖啡渣初试,黏贴而成.by丛丛
图片尺寸1000x1000
一种办公室用咖啡磨碎装置的制作方法
图片尺寸996x1000
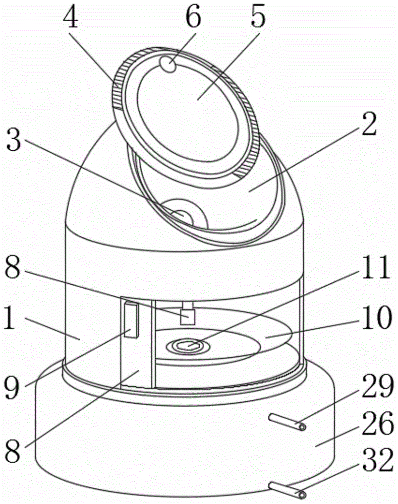
一种咖啡渣再利用的装置及方法
图片尺寸789x1000
用咖啡渣画店里后厨的小伙伴#我和这家店有故事 #笔记灵感 #咖啡渣
图片尺寸1080x1080
咖啡渣的艺术
图片尺寸600x800
diy染色|咖啡染 well 咖啡染的图文归档 材料:咖啡渣,盐,明矾 (咖啡渣
图片尺寸1023x1280
随识小课 | vol.36 咖啡豆的包装储存分类
图片尺寸731x750
咖啡渣画生活一点小情趣
图片尺寸650x653
用咖啡渣制成的新型一次性咖啡杯_杯子_纸杯_rekava
图片尺寸1080x1119
recyclesymbol咖啡渣写回收照片
图片尺寸450x300
咖啡渣画生活一点小情趣
图片尺寸650x651
咖啡渣配树叶 coffeetopia的别样绘画
图片尺寸640x640
咖啡店日常我们用咖啡渣做了一些画
图片尺寸1078x1438
利用咖啡渣最简单的办法就是加到堆肥当中.
图片尺寸728x486
千万别倒!祛黑眼圈,减肥塑身,咖啡渣竟然也有这么多妙用!
图片尺寸400x579
星巴克推出熊店长环保系列给咖啡渣第二次生命
图片尺寸1000x1832
你所不知的咖啡渣的13种用途
图片尺寸600x900
免费「咖啡渣」,欢迎自取哟~应广大客人的提议, 门口摆个盆晾 - 抖音
图片尺寸1440x1920