商城县赵吉宽

商丘拓城县发生一起刑事案件 警方发布悬赏通告
图片尺寸358x416
福建省福州市闽清县政协建言农产品质量安全
图片尺寸942x625
商城县公安局城关派出所破获一起诈骗案件
图片尺寸1080x798
市委常委,组织部长赵建玲深入商城县调研指导抓基层基础促乡村振兴
图片尺寸1013x853
山东省农业专家顾问团来平阴县调研考察玫瑰产业
图片尺寸1600x1067
河南商城法院公开宣判一起恶势力犯罪案件
图片尺寸510x338
胖腾村
图片尺寸268x201
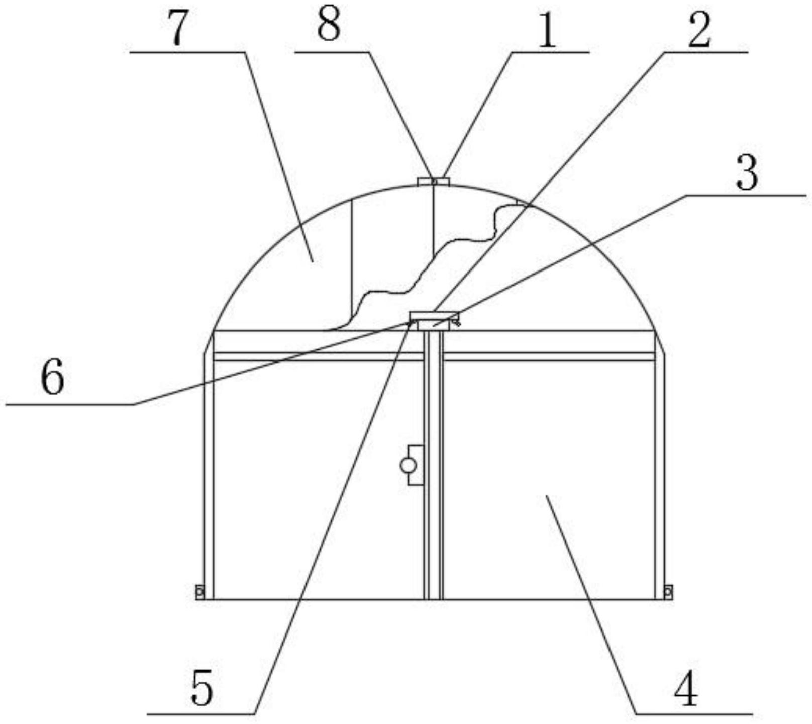
cn213306515u_温室大棚的接地式支护架有效
图片尺寸1616x1440
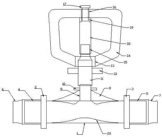
一种应用于温室大棚灌溉系统的雾化微喷结构
图片尺寸524x445