喂水器 原理

原理应用(3)如果连通器里装有密度不同的且不混合的液体,连通器液面
图片尺寸819x569
科学:自动喂水器
图片尺寸250x326
水培装置的各种常见模式 1
图片尺寸518x234
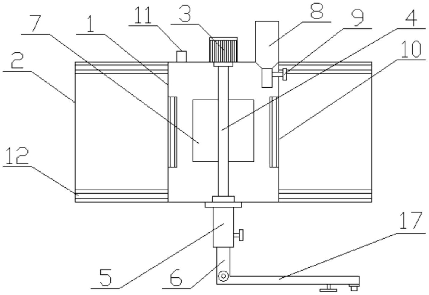
一种宠物饲养用自动喂水器
图片尺寸1745x1489
养鸡场里的家禽自动喂水器如图所示.其中哪些部分应用了什么物理知识
图片尺寸344x158
标题:【力学图片】液体的压强:连通器-乳牛自动喂水器点击数:2次发表
图片尺寸382x291
芦丁鸡自动喂水器
图片尺寸1080x1439
一种用于禽类养殖场的全自动喂水系统技术方案
图片尺寸1000x760
一种养殖用喂水器的制作方法
图片尺寸1000x707
cn107581099a_一种养鸡用自动喂水装置在审
图片尺寸706x890
一种宠物喂水器的制作方法
图片尺寸756x1000
一种自动补水宠物饮水器制造技术
图片尺寸1000x726
cn213666849u_一种用于临床护理的喂水器有效
图片尺寸1437x990
养鸡用自动饮水器 雏鸡普拉松饮水器 鸡鸭鹅小鸡喂水器 养鸡用品
图片尺寸800x800
你做的小鸡喂水器会漏水吗原来是这个原理
图片尺寸1080x810
鸟用自动下料器饮水器鸽子芦丁鸡喂水器玄凤鹦鹉喂食盒喂鸟食盒槽
图片尺寸800x800
猫咪饮水机自动喂食器猫喝水器流动狗狗喂水饮水器不插电宠物用品
图片尺寸1500x2322
鸟用饮水器鹦鹉虎皮玄凤八哥鹩哥鸽子自动喝水喂水器滚珠水壶用品
图片尺寸750x1000
狗狗饮水器宠物自动喝水器挂式狗水壶悬挂泰迪猫咪金毛小狗喂水器
图片尺寸800x800
鸡用鸽子自动饮水器鸡用吊杯自动饮水器小鸡乳头饮水碗家禽喂水器
图片尺寸750x917