喉罩结构

小武学喉罩之体会二那些颜值超高五花八门的喉罩们
图片尺寸470x470
《急救培训喉罩应用》ppt课件
图片尺寸920x690
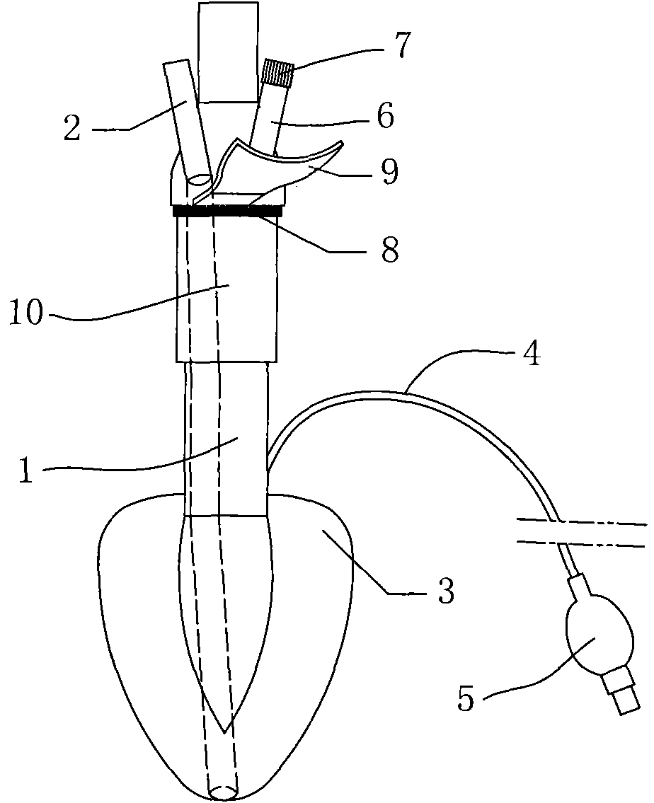
一种便于使用的麻醉科喉罩的制作方法
图片尺寸858x712
来讲是一种结构简单,方便且准确置入的一次性可调节弯曲度式医用喉罩
图片尺寸873x1000
喉罩讲座2013
图片尺寸1080x810
一种可给药的喉罩的制作方法
图片尺寸1000x626
喉罩气道(lma)
图片尺寸438x600
cn201832245u_三管喉罩失效
图片尺寸924x1135
喉罩
图片尺寸350x479
一种防漏气喉罩装置制造方法及图纸
图片尺寸600x643
一种麻醉科用便于调节的喉罩的制作方法
图片尺寸443x318
cn205729929u_一种预塑型喉罩有效
图片尺寸1000x826
cn101057994b_具备胃管插入用引导部的喉罩失效
图片尺寸1853x2597
本实用新型涉及一种新型喉罩,包括罩囊结构,喉管,充气管和对位件,罩囊
图片尺寸938x1000
应用于纤支镜治疗的喉罩结构的制作方法
图片尺寸970x329
一种新型喉罩的制作方法
图片尺寸941x1000
一种多功能插管型喉罩的制作方法
图片尺寸1000x978
咽腔封堵型喉罩的制作方法
图片尺寸1000x511
一种无痛胃镜诊疗用喉罩制造技术
图片尺寸1000x665
ce和iso fda高品质一次性硅胶喉罩气道 - buy silicone laryngeal
图片尺寸750x265