喷射器怎么画

黑白手绘浇花喷雾器插图
图片尺寸500x500
喷中简笔画
图片尺寸889x500
一种具有可调式喷嘴的真空喷射器-爱企查
图片尺寸800x538
喷壶简笔画
图片尺寸1500x1000
喷雾器儿童画绘画步骤教教学
图片尺寸800x416
cn306580018s_喷射器有效
图片尺寸898x597
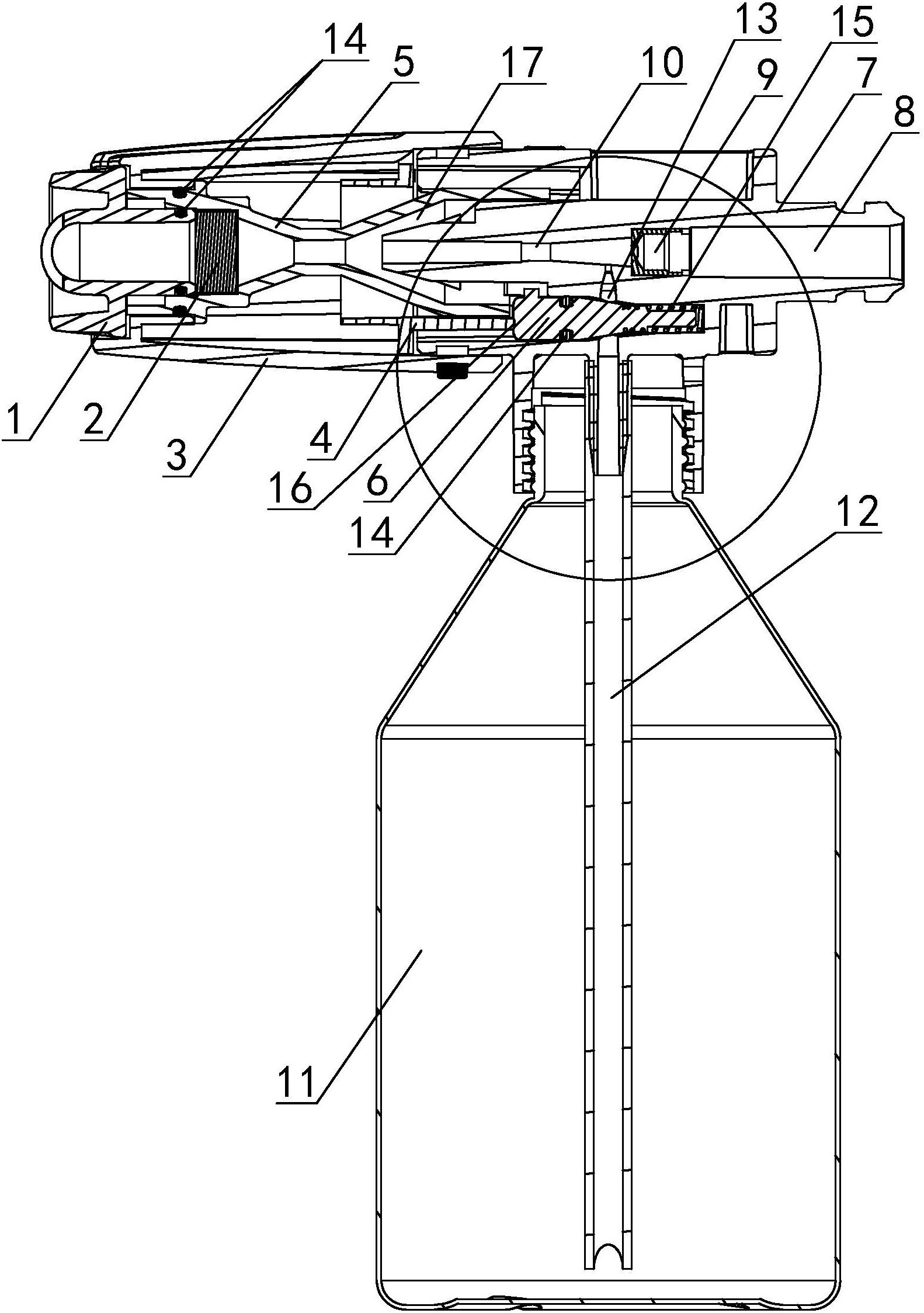
喷枪
图片尺寸1080x2271
园林喷雾器细线图标.喷雾矢量插图孤立在白色.
图片尺寸1100x1100
先画出喷射器时间:2022-01-17 来源:养娃家
图片尺寸700x525
喷雾器简笔画图片教程
图片尺寸494x500
喷雾器简笔画
图片尺寸800x450
摘要附图摘要换向拆装组合式喷洒器,含喷射器,还含转向器,及含驱转器
图片尺寸1502x1947
可调泡沫发生喷射器-爱企查
图片尺寸1582x2247
喷枪
图片尺寸1288x1999
喷枪
图片尺寸1152x2063
一种干粉喷射器
图片尺寸1715x1933
喷枪
图片尺寸1164x1610
简笔画农药喷射器
图片尺寸500x336
喷雾器漆图标黑色矢量插画平面样式简单图像
图片尺寸700x700
一种液态co2射孔压裂旋流喷射器的制作方法
图片尺寸963x1520