喷水织布机图解

喷水织布机器的运输与安装
图片尺寸513x450
喷气织机
图片尺寸337x320
一种织布工艺及专用喷气织机
图片尺寸1000x922
喷水织机原理与使用的基本信息
图片尺寸715x874
深圳厂家优惠价销售码上好牌ak1000小字符喷码机打码机
图片尺寸689x445
jat710型喷气织机报告ppt
图片尺寸1080x810
cn111793879a_喷气织机以及喷气织机的控制方法
图片尺寸2464x1255
纺织机械喷水织机电子储维喷水纺机化纤织机 双喷重磅喷水织机
图片尺寸800x800
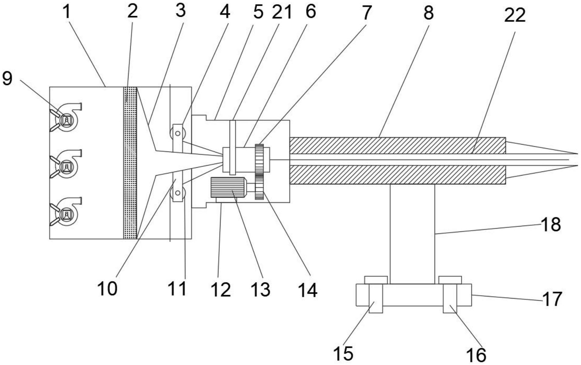
一种用于喷气织机的玻纤织物绞织开口装置及工作方法
图片尺寸2495x1781
1pc flower type water pipe antibacterial and deod
图片尺寸800x800
cn101445990a_喷气织机纬纱飞行张力和飞行时间控制装置及其控制方法
图片尺寸2832x1053
水力织布机 提高织布效率40倍 提高织布效率40倍 40
图片尺寸1080x810
喷气织机的引纬装置
图片尺寸2458x1295
一种具有净水功能的麂皮绒喷水织布机的制作方法
图片尺寸1000x580
cn213570944u_一种纺织用喷水织机装置有效
图片尺寸1395x1286
津田驹单喷,双喷,多喷嘴喷气织机异型钢筘 钢筘租赁 钢筘维修
图片尺寸3402x4252
168w3喷水塑料编织机防草布织机除草布抑草布织机园林底布织机
图片尺寸750x960
广州龙头自动给皂器vt8608a福伊特voith
图片尺寸750x1005
cn213113709u_一种喷气织机多色引纬装置
图片尺寸1913x1202
喷气剑杆喷水织机织布工具附件手动布品克重取样w器取样裁剪机
图片尺寸800x800