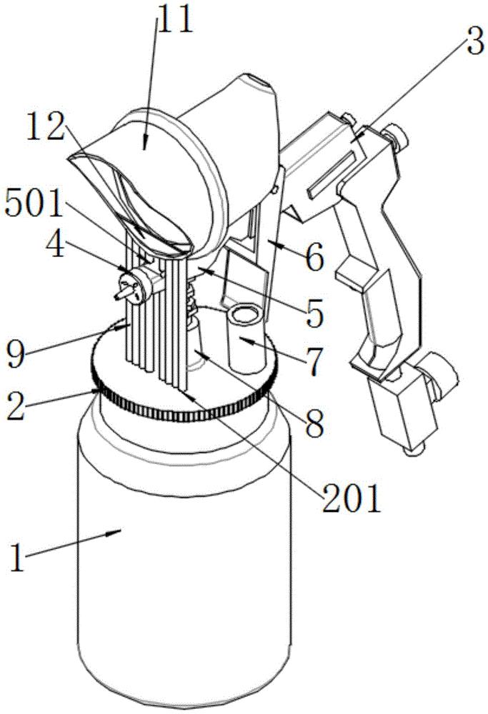
喷漆壶结构

一种喷壶_cn201920297765.4_知雀网
图片尺寸1000x888
本实用新型涉及喷漆壶技术领域,尤其涉及一种多功能喷漆壶结构.
图片尺寸877x1000
3538耐溶剂喷壶
图片尺寸480x278
一种喷壶_cn201920297765.4_知雀网
图片尺寸1000x837
一种喷壶
图片尺寸1000x841
便于加水的喷壶的制作方法
图片尺寸921x1000
cn213548883u_一种新型雾化喷淋壶有效
图片尺寸1681x1962
一种气动喷壶的制作方法
图片尺寸443x361
素描一种喷壶嘴的结构画法多步骤
图片尺寸1080x1439
怎样修理喷壶
图片尺寸800x522
油漆喷壶75油漆喷枪喷漆枪下壶家用汽车喷雾器高雾化涂料喷抢 岩田w
图片尺寸790x1120
一种手持式电动喷壶
图片尺寸908x1000
气动喷漆枪喷枪汽车钣金家具补漆工具油漆喷壶涂料乳胶漆喷漆工具特价
图片尺寸790x1264
机械行业喷涂用的搅拌罐式结构的喷壶装置
图片尺寸683x1000
一种可视化喷壶的制作方法
图片尺寸1000x773
cn213102753u_一种通过螺纹调节喷射形状的高压泡沫喷壶
图片尺寸1473x1420
一种电动喷壶快速拆卸加水结构的制作方法
图片尺寸784x1000
现有的泡沫喷壶,其用于喷出泡沫清洁剂等液体结构,其适用于家庭厨房
图片尺寸443x443
生产中对于小件的商品的喷漆或者补漆,通常是由人工使用气动喷壶进行
图片尺寸667x1000
一种除甲醛苯系物所用光触媒喷壶的制作方法
图片尺寸900x1000