喷码机结构图

喷码机喷头结构
图片尺寸1024x921
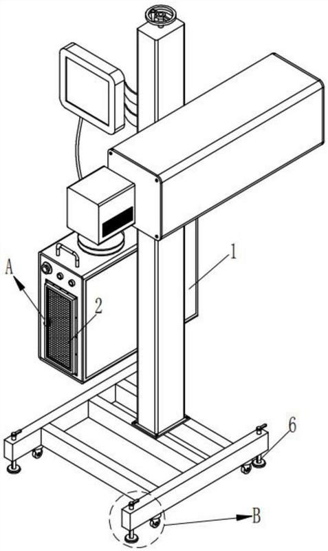
深圳码上好打码机公司销售ak1000型小字符白墨喷码机
图片尺寸689x445
喷码机喷头结构
图片尺寸1024x813
一种喷码机
图片尺寸1318x1424
喷码机使用说明ppt
图片尺寸1080x810
【技术交流】伟迪捷1610dh双头喷码机结构图
图片尺寸473x553
uv喷码机(js-2070uv喷码)
图片尺寸1777x1124
威利640小字符喷码机
图片尺寸1968x2320
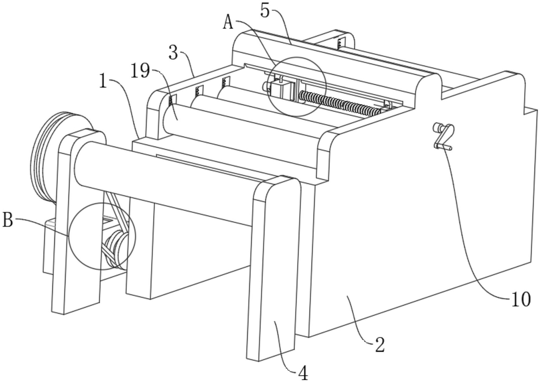
摘要本实用新型公开了一种用于无纺胶布的喷码机,包括底座和喷码结构
图片尺寸1868x1324
伟迪捷1210小字符智能包装喷码机
图片尺寸1880x1252
喷丸机
图片尺寸1340x1615
伟迪捷喷码机使用说明书
图片尺寸893x939
包括喷码机本体,喷码机本体上设有过滤结构,喷码机本体上通过多个螺栓
图片尺寸477x800
一种喷码装置制造方法及图纸,喷码机墨水的几种类型专利_技高网
图片尺寸1000x944
cn209756482u_自动喷码机有效
图片尺寸1000x912
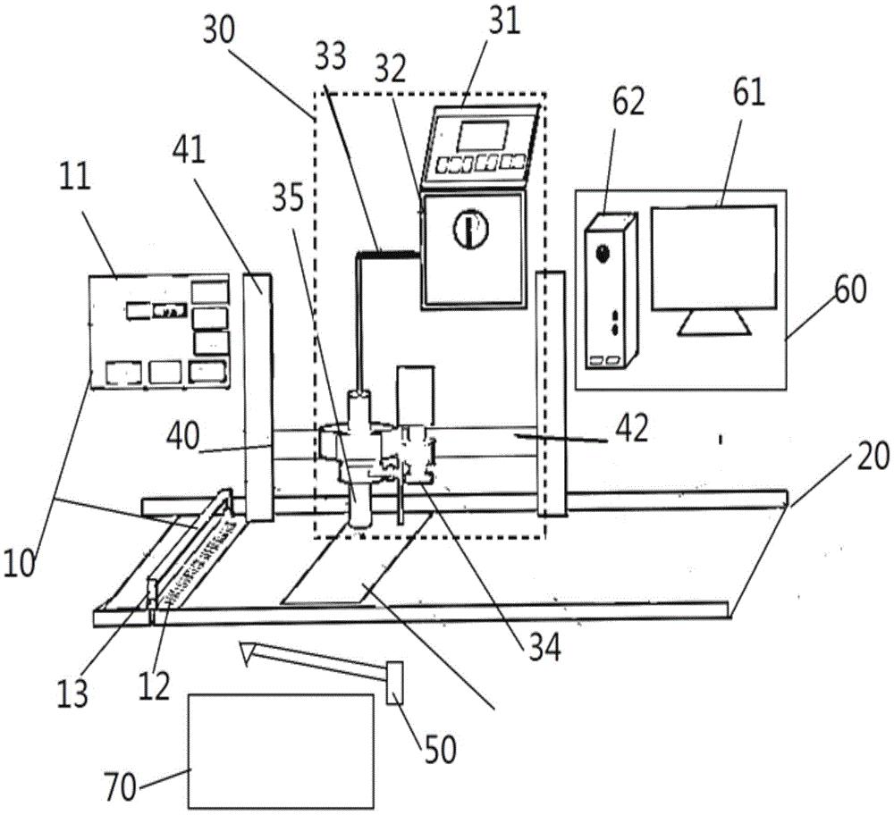
所述显示器与所述喷码机主体为一体式结构,所述显示器的一侧设置有收
图片尺寸1717x1700
hsp7矿用混凝土喷射机干湿两用
图片尺寸601x304
操作说明喷码机
图片尺寸432x275
包括主体,安装架,皮带输送结构,上料机构,喷码机构以及下料机构,所述
图片尺寸800x716
一种激光喷码机的制作方法
图片尺寸1000x869