喷花筒简笔画

花园喷瓶图标轮廓风格
图片尺寸771x1200
喷灌喷头图标轮廓样式
图片尺寸1200x1021
小喷花壶简笔画(简笔画图片大全) -【爱个性】
图片尺寸500x500
喷花筒的简笔画
图片尺寸500x294
矢量庆祝节日喷花
图片尺寸610x629
矢量图的喷花恶作剧
图片尺寸994x1023
喷花筒简笔画
图片尺寸700x483
喷花水壶简笔画
图片尺寸416x297
一种锥形喷花纸筒-爱企查
图片尺寸451x799
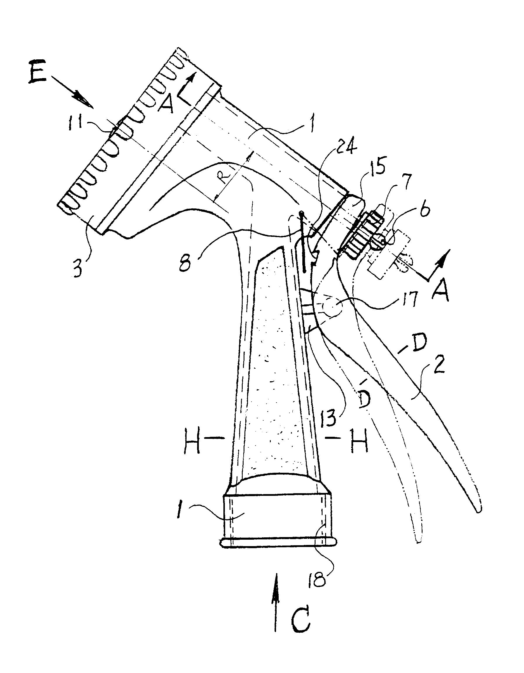
摘要附图摘要用于喷花,清洗和美化环境的多功能清洁节水喷枪,由喷枪体
图片尺寸1792x2302
一种全方位喷花壶
图片尺寸1636x2053
喷花筒的简笔画
图片尺寸500x666
喷花筒怎么画简笔画
图片尺寸500x375
喷花洒水壶简笔画
图片尺寸499x281
简笔画喷花
图片尺寸500x667
传统的喷花壶是手动操作,通过手握住壶体,手部反复压手柄,使壶体内的
图片尺寸391x444
喷花器图标轮廓图片下载
图片尺寸612x479
喷花图片-喷花素材-喷花插画-摄图新视界
图片尺寸300x300
撒粉软欧包经典欧式脏脏包蛋糕烘焙筛粉印花喷花烘焙模具
图片尺寸800x800
cn2762061y_座式球型喷花失效
图片尺寸1417x1281