四轮驱动结构图

四个电机独立驱动四个车轮,左右两侧的车轮能够朝着不同的方向转动,这
图片尺寸744x526
四驱不只有quattro,途锐的4motion恒时四驱系统了解一
图片尺寸1360x1020
一种带有避震结构的玩具四驱车-爱企查
图片尺寸1902x1536
所以油耗高是必然的,同时,四轮驱动系统结构复杂,保养和维修费用较高
图片尺寸661x553
通过取力器,传动轴,限滑差速器(扭矩管理器)实现的横置四驱结构图1
图片尺寸702x386
四轮驱动电动车
图片尺寸800x500
比亚迪dmo平台解析:电动四驱 硬派越野,混动汽车还能这么玩?
图片尺寸640x361
主流汽车四轮驱动系统构造和原理(图解)
图片尺寸1080x436
cn207843059u_四轮驱动拖拉机的四轮转向机构有效
图片尺寸1841x911
不越野要四驱做什么不越野四驱有用吗
图片尺寸1280x828
四轮驱动分几种,各有什么区别?
图片尺寸600x400
理念源自四驱车玩具为什么说滑板平台是电动皮卡的未来
图片尺寸640x320
主流汽车四轮驱动系统构造和原理(图解)
图片尺寸1080x988
分时四驱结构与原理
图片尺寸640x392
找回童年的速度与激情迷你四驱车
图片尺寸640x360
全时四驱顾名思义就是车辆一直保持四轮驱动状态.
图片尺寸700x356
一文带你了解未来的电动越野车四驱结构
图片尺寸744x400
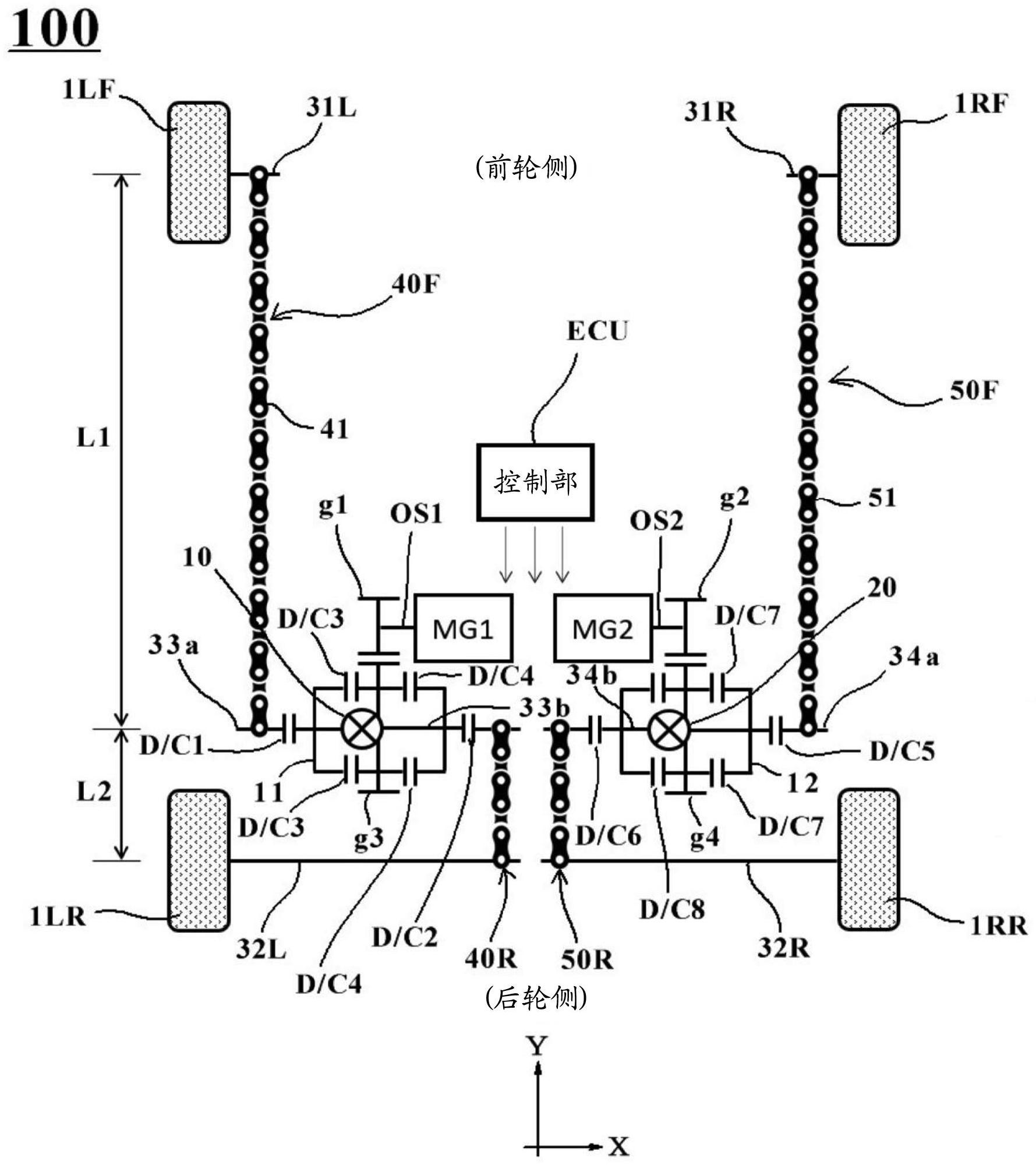
cn112549955a_电动马达式四轮驱动车的驱动装置
图片尺寸1779x2000
四轮驱动轿车的结构图
图片尺寸643x444
汽车四轮驱动技术ppt
图片尺寸1080x810