四通井平面图

混凝土四通电缆井
图片尺寸775x742
840x1160四通接线井大样图
图片尺寸606x418
三普塑料检查井污水流槽四通井hdpe黑色市政排污管网配套配件齐全
图片尺寸869x1074
建筑小区塑料检查井四通
图片尺寸818x806
射流式排水四通检查井的制作方法
图片尺寸967x869
上海市排水管道通用pdf施工图(四通交汇井窨井)
图片尺寸596x792
溜槽四通井座700-400a 品质保证 工程专用 厂家直供
图片尺寸800x800![[节点详图]昆明某道路排水工程四通井施工图设计](https://i.ecywang.com/upload/1/img0.baidu.com/it/u=1537162496,517074084&fm=253&fmt=auto&app=138&f=JPEG?w=823&h=500)
[节点详图]昆明某道路排水工程四通井施工图设计
图片尺寸1082x657
12 2电缆四通井施工图(现浇)
图片尺寸560x448
10kv电力电缆线路电缆沟电缆井敷设设计要求
图片尺寸516x788
矩形四通检查井盖板配筋结构施工图
图片尺寸861x633
110kv四通井电缆操作井图纸
图片尺寸450x350
矩形90°四通砖砌雨水检查井
图片尺寸293x220
昆明某道路排水工程四通井施工图设计
图片尺寸861x607
昆明某道路排水工程四通井施工图设计
图片尺寸610x432
大型(三)直通型电缆井平面图(混凝土):大型(一)四通型电缆井平,剖面图
图片尺寸640x447
2300x1900矩形四通检查井盖板配筋图
图片尺寸364x283
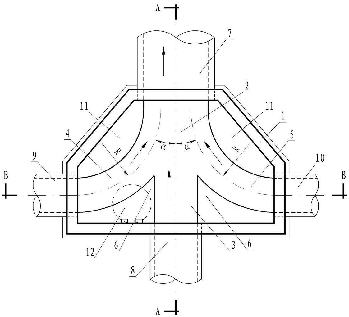
防止水流对冲的排水四通检查井-爱企查
图片尺寸1123x1021
一种预制盖板开启式八角形电缆四通井的制作方法
图片尺寸502x471
排水四通检查井的制作方法
图片尺寸1000x632