四颈烧瓶装置图

安全瓶
图片尺寸834x375
实验:如图所示,干燥的烧瓶中充满氨,打开弹簧夹,将
图片尺寸755x1565
化学是以实验为基础的学科正确选择实验装置是实验成功的关键下图所示
图片尺寸3626x1239
四川省凉山州20212022学年高三上学期第一次诊断测试化
图片尺寸1508x1759
多功能瓶是一种在化学实验中广泛使用的装置,主要用于气体收集,除杂
图片尺寸1080x1074
粗蛋白检测
图片尺寸1118x886
aigtek功率放大器应用功率超声对聚合反应条件的影响研究
图片尺寸425x423
同族元素所形成的同一类型的化合物,其结构和性质往往相似
图片尺寸2084x2401
3,下图为实验室模拟湿法合成的装置示意
图片尺寸1330x1370
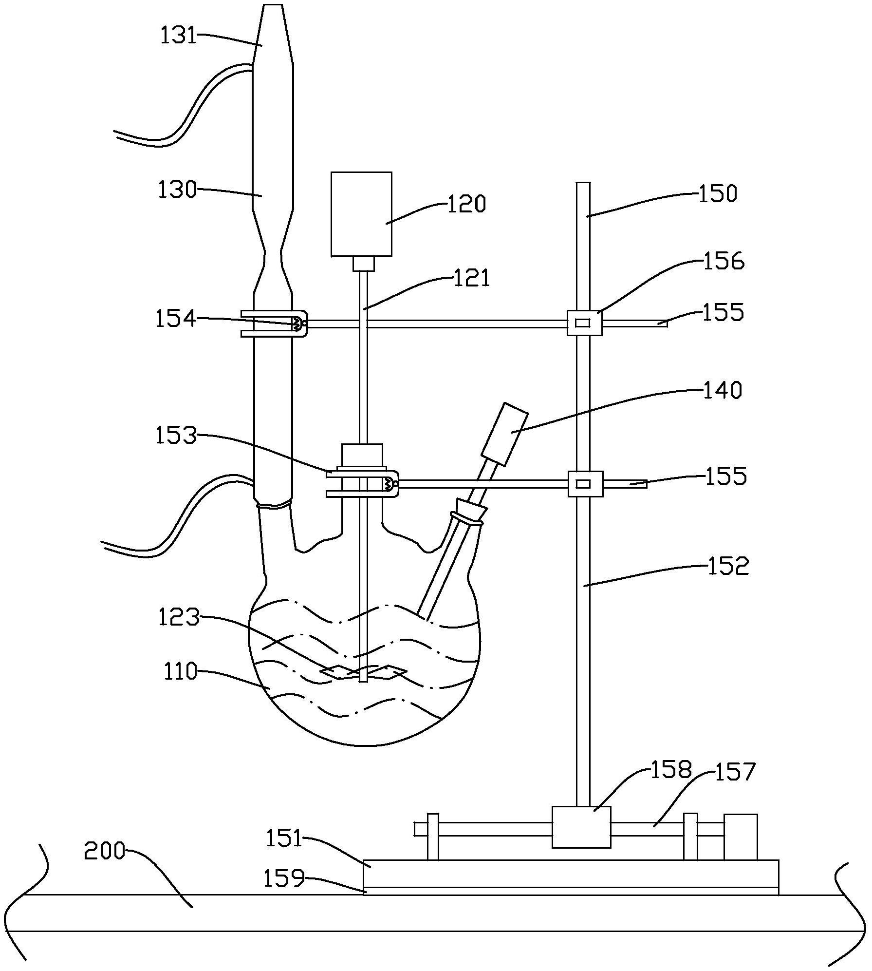
摘要附图摘要本实用新型公开了一种蒸馏装置,包括四口烧瓶,搅拌装置
图片尺寸1791x1993
利用还原法制备并测定产品纯度,制备的实验装置如图
图片尺寸2727x1549
解答题1.2,该装置存在一处明显缺陷,请提出改进方法:.解答题1
图片尺寸1427x1934
电热套 🤔 担心装置图画得有毛病?别担心,我们来帮你看看!
图片尺寸2903x1050
图片尺寸435x241
陕西省宝鸡市2023届高三下学期模拟检测
图片尺寸1950x1280
容量瓶手绘图次氮气清洗的时候没控制好流量三颈烧瓶炸了第二次师兄在
图片尺寸800x800
鼓泡瓶装置图
图片尺寸648x432
有么有人知道这个化学仪器,很感谢你!
图片尺寸2592x1944
苯胺是一种重要精细化工原料,在染料,医药等行业中具有广泛的应用
图片尺寸454x188
圆底烧瓶和蒸馏烧瓶的区别
图片尺寸1200x1091