回旋式振荡器图纸

cn211950338u_一种低能耗的水力振荡器有效
图片尺寸510x759
cn201313042y_加热回旋振荡器有效
图片尺寸2393x1274
一种涡旋振荡器-爱企查
图片尺寸1464x1015
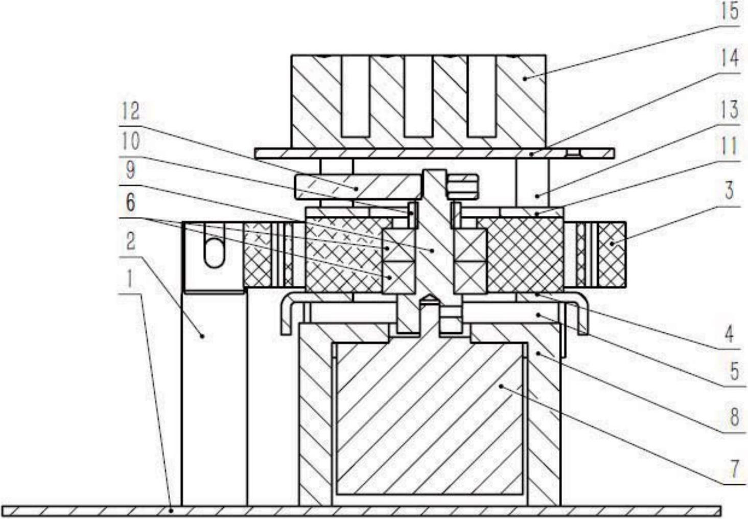
一种涡旋振荡器的制作方法
图片尺寸1000x805
一种外植体消毒用回旋振荡器
图片尺寸444x305
一种振荡器电路的制作方法
图片尺寸1000x862
独轮式回旋振荡器-爱企查
图片尺寸261x289
一种振荡器电路的制作方法与工艺
图片尺寸1000x868
想做2p2微功率振荡器,劳烦各位师傅帮忙看看这个电路是否可行,谢谢
图片尺寸1393x750
一种低功耗自混频压控振荡器
图片尺寸1374x1346
带恒温槽的晶体振荡器
图片尺寸1000x857
一种自激振荡电路 - cn201710751770.
图片尺寸1000x931
正弦波振荡器
图片尺寸695x484
一种高稳定性振荡器电路及其实现方法技术
图片尺寸1000x741
稳定的正弦波振荡器
图片尺寸1218x920
rc正弦波振荡器的实用制作方法
图片尺寸512x714
振幅稳定的可调正弦波振荡器
图片尺寸650x620
rc正弦波振荡电路
图片尺寸944x497
简单的调节正弦波振荡器
图片尺寸1146x1078
90度锁定的正弦-余弦振荡器电路图
图片尺寸998x654