回缩型注射器

海鸥医疗自动回缩安全注射器
图片尺寸400x400
出口一次性1ml注射器针筒疫苗注射器宠物打针兽医针头1cc-阿里巴巴
图片尺寸1920x1920
针头回缩式安全注射器介绍
图片尺寸3648x2736
1ml/3/5毫升一次性回缩针注射器针筒针管小号带针头推进回缩xq
图片尺寸800x800
现货一次性针筒注射器手推式塑料针筒注射器带刻度无针喂食器60ml
图片尺寸1500x1500
一次性无痛针宠物猫咪狗狗回缩式无菌注射器2ml
图片尺寸800x800
一次性使用无菌防针刺注射器及其附件
图片尺寸2647x2445
1ml 注射器
图片尺寸3024x3024
12ml注射加油器注胶器加长嘴弯嘴直嘴注射器动宠物喂食器针筒带嘴
图片尺寸657x689
针头自动回缩式安全注射器
图片尺寸700x504
海鸥医疗自动回缩安全注射器
图片尺寸928x468
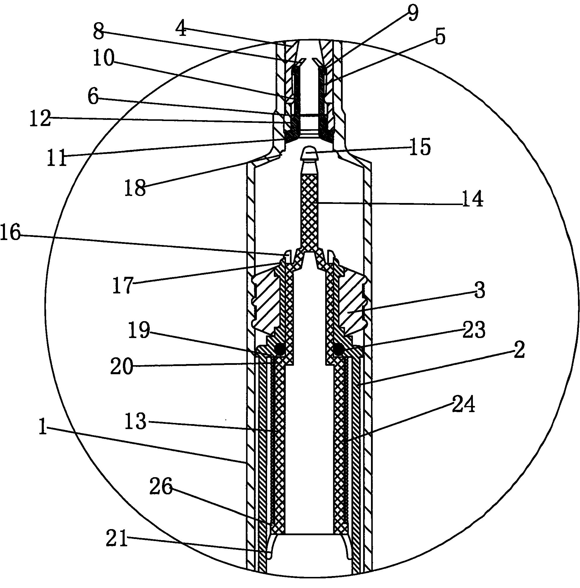
一种改进的针头慢速回缩注射器-爱企查
图片尺寸1987x2016
独立包装注射器,无针头针筒5ml,10ml,20ml,60ml独立包装
图片尺寸1920x1920
无菌回缩式自毁注射器
图片尺寸500x500
独立包装注射器,无针头针筒5ml,10ml,20ml,60ml独立包装
图片尺寸1920x1920
防针刺胰岛素注射器-美德莱
图片尺寸930x1239
苏云medsuyum 一次性无菌注射器 2ml0.6 (100支/盒18盒/件)
图片尺寸750x1017
微型注射器(900系列)
图片尺寸1000x1000
1ml带30g注射器针筒跨境亚马逊专供养老实验室器材宠物点胶锋利,微商
图片尺寸1920x1280
凯柏胶宝:探索tpe创新技术在针头盖应用的无限可能_医疗_系列_注射器
图片尺寸3125x1729