回转式干燥装置图

药剂加工用的双锥回转真空干燥设备的制作方法
图片尺寸1000x855
hzg系列回转滚筒干燥机
图片尺寸1166x744
不锈钢双锥回转真空干燥机 热敏性物料烘干机 粉体干燥机
图片尺寸1024x688
农药中间体双锥回转真空干燥机真空干燥机回转真空干燥设备
图片尺寸800x654
cn101738070a_回转滚筒干燥机失效
图片尺寸2542x760
回转式干燥机
图片尺寸600x239
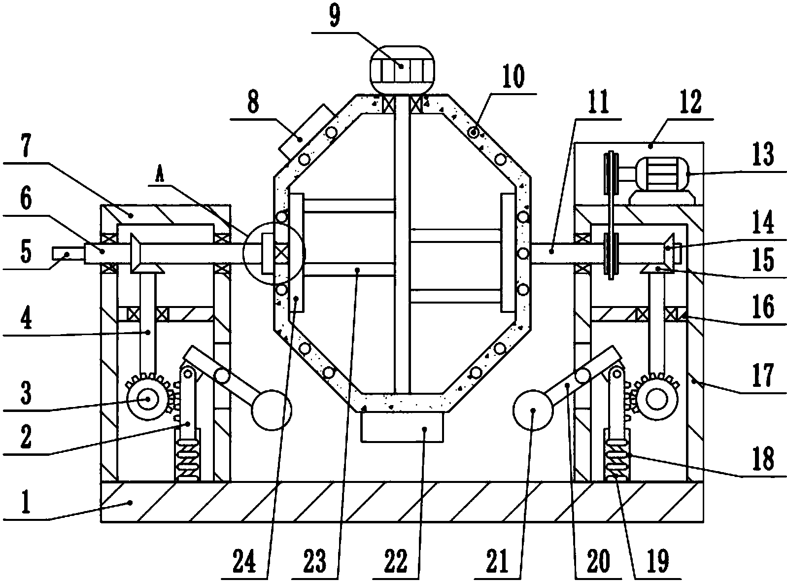
cn207203519u_一种双锥回转干燥机有效
图片尺寸1788x1350
供应不锈钢干燥机化工食品真空干燥机szg双锥回转真空干燥机
图片尺寸1024x688
回转式三合一干燥机,多功能三合一干燥设备
图片尺寸600x441
产品名:szg双锥回转真空干燥机
图片尺寸700x380
szg300双锥回转真空干燥机cad图纸
图片尺寸891x683
我对您的hzg系列回转滚筒干燥机产品感兴趣请发具体的信息及报价谢谢
图片尺寸702x602
szg系列双锥回转真空干燥机
图片尺寸1000x268
szg系列双锥回转真空干燥机
图片尺寸690x514
生产销售 szg-2000双锥回转真空干燥机 回转窑干燥机
图片尺寸450x349
一种多功能双锥回转真空干燥器
图片尺寸1659x1035
供应木屑烘干机 黄沙 三回层回转滚筒干燥 滚筒干燥机 烘干机
图片尺寸1024x768
一种双锥回转式建筑污泥干燥装置
图片尺寸1597x1179
锥回转真空干燥机是主机设备,需配备加热系统,真空泵,冷凝器辅助装置
图片尺寸500x172
厂家定制高品质间氨基苯酚回转窑干燥机设备
图片尺寸560x240