回转支承轴承结构

回转支承内部结构及应用,你了解吗?
图片尺寸1414x956
四种常用的回转支承模型-轴及轴承图纸-沐风网
图片尺寸403x220
inavlu系列轻型回转支承
图片尺寸678x510
常见回转支承结构组件
图片尺寸1080x1096
回转支承p5级轴承无齿式:vu系列 内圈,外圈有整体式和分体式结构
图片尺寸606x390
采购外齿单排球转盘轴承 011.75.3150.03k 回转支承
图片尺寸1090x815
正圆单排球式回转支承qwa.630.20a
图片尺寸505x416
双排球式回转支承(02系列)
图片尺寸354x408
1787/800gk转盘轴承回转支撑回转轴承机床工作台轴承高承载高刚性
图片尺寸1517x1787
济南万向通机械有限公司-齿圈-回转支承-转盘轴承
图片尺寸532x316
船用起重机回转支承结构形式及技术要求
图片尺寸767x518
首页 技术方案中心 常见回转支承结构(组件) 转盘轴承有无齿式,外齿式
图片尺寸346x465
(所有你需要的关于回转支承的知识)_轴承
图片尺寸517x362
【机械原创】 - 丰禾回转支承安装示意图
图片尺寸517x330
单排四点接触球式回转支承(hs系列) – 回转支承,转盘轴承厂家
图片尺寸300x300
回转支承-江苏万达特种轴承有限公司
图片尺寸370x263
是回转支承产品中承载能力最大的一种,轴,径向尺寸都较大结构牢固
图片尺寸358x377
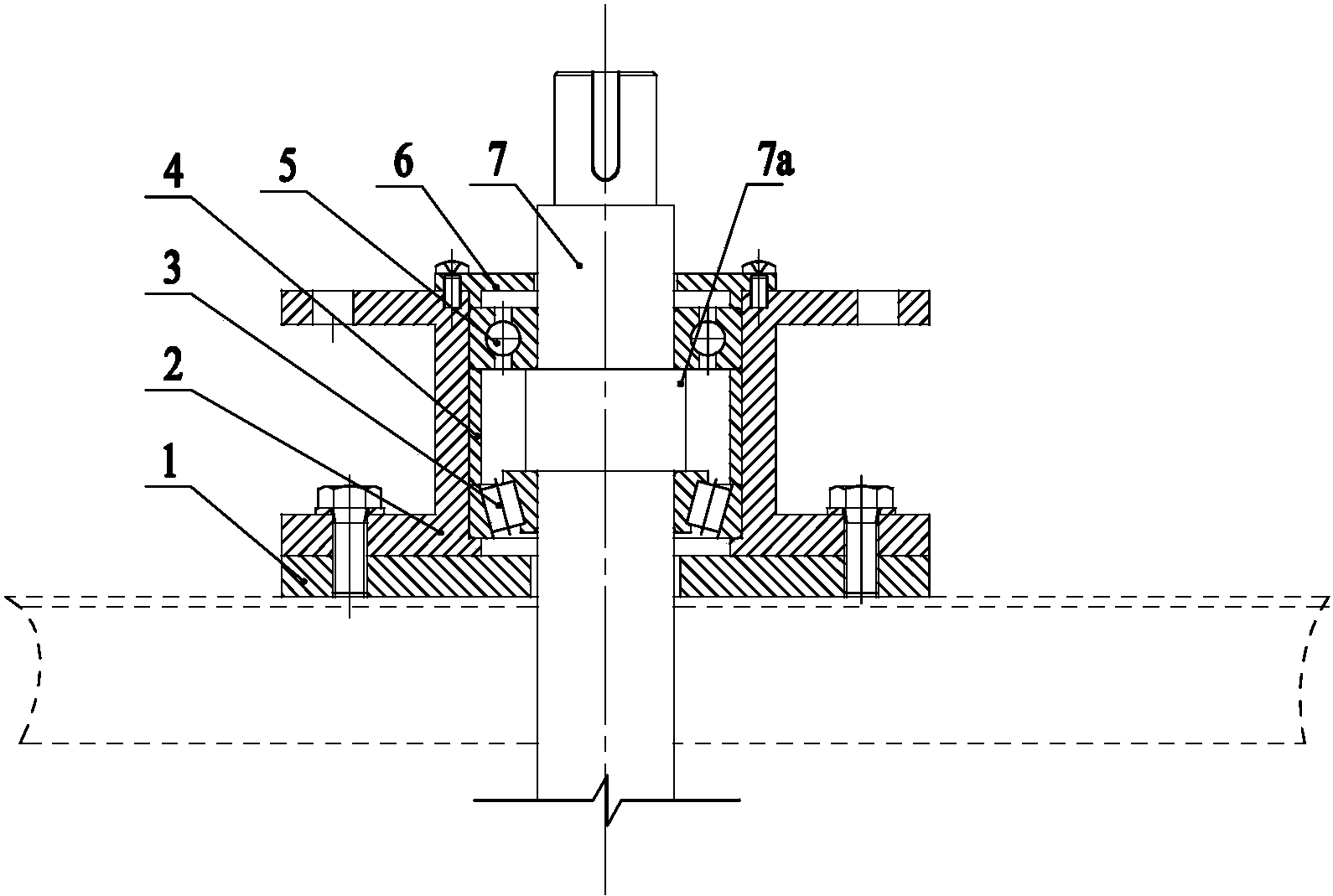
本发明涉及一种小件清洗机旋转传动轴的转动支承结构,包括传动轴承座
图片尺寸1590x1069
回转支承轴承型号及其结构特点
图片尺寸600x450
回转支承
图片尺寸689x461