回转炉内部结构

converter
图片尺寸1080x810
回转式活化炉
图片尺寸2230x1278
回转床煅烧炉
图片尺寸600x385![[0020]另外,所述炉管2由两段或两段以上可分离管体结构](https://i.ecywang.com/upload/1/img2.baidu.com/it/u=3322428125,1604920326&fm=253&fmt=auto&app=138&f=JPEG?w=646&h=500)
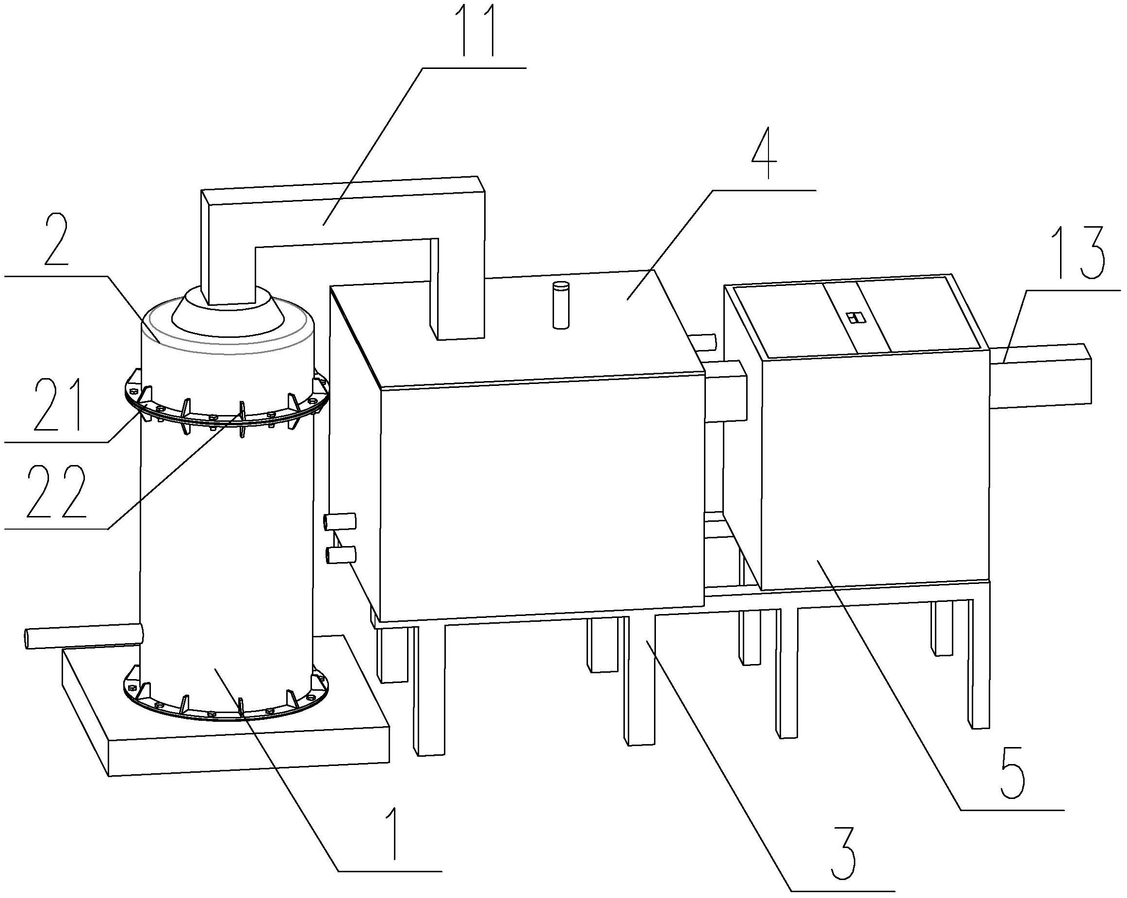
[0020]另外,所述炉管2由两段或两段以上可分离管体结构
图片尺寸1810x1400
一种连续进出料烧结回转炉专利_专利申请于undefined
图片尺寸1963x1125
一种新型热处理回火炉
图片尺寸1899x1798
cn105674729a_一种内衬管为六边形结构的高温气氛回转炉失效
图片尺寸1000x819
一种高效节能回风炉的制作方法
图片尺寸1000x978
氧气顶吹转炉结构示意图
图片尺寸600x563
一种回转炉结构
图片尺寸2323x1850
多用途聚集燃烧式回转炉专利_专利申请于2019-04-04
图片尺寸1000x666
回转炉结构图片
图片尺寸600x559
一,回转窑式焚烧炉结构及工作原理回转窑式焚烧炉是一可旋转的倾斜钢
图片尺寸640x399
自动进出料锂电池正负极材料烧结炉 氢气点火间歇式
图片尺寸554x408
回转式活化炉
图片尺寸1000x372
转炉本体系统
图片尺寸1080x810
转炉本体系统
图片尺寸1080x810
氧气斜吹回转炉炼钢
图片尺寸795x852
回转窑垃圾焚烧炉
图片尺寸640x386
回转窑结构组成
图片尺寸520x390