固定床吸附

固定床吸附工程计算
图片尺寸1036x584
现代分离技术第三节固定床吸附分离
图片尺寸920x690
鑫蓝环保-沸石固定床吸附 催化燃烧_废气_处理_设备
图片尺寸3648x1712
固定床吸附浓缩技术
图片尺寸512x270
立式固定床吸附器结构示意图
图片尺寸483x529
固定床吸附浓缩
图片尺寸1000x470
半连续式回收有机溶剂固定床吸附流程
图片尺寸633x418
杜维尔纳米沸石固定床吸附加催化燃烧
图片尺寸800x450
(1)固定床 固定床活性炭处理装置的构造见图1 .
图片尺寸1042x1335
固定床吸附案例
图片尺寸1100x700
固定床热氧化工艺
图片尺寸4737x2760
祺韵活性炭吸附装置——固定床式
图片尺寸789x486
采用分子蒸馏-固定床吸附技术提纯废润滑油为国标基础油
图片尺寸4272x2848
采用分子蒸馏固定床吸附技术提纯废润滑油为国标基础油
图片尺寸5184x3456
沸石吸附转轮浓缩转轮分子筛吸附固定床
图片尺寸318x418
降流式固定床型吸附塔构造示意图
图片尺寸617x459
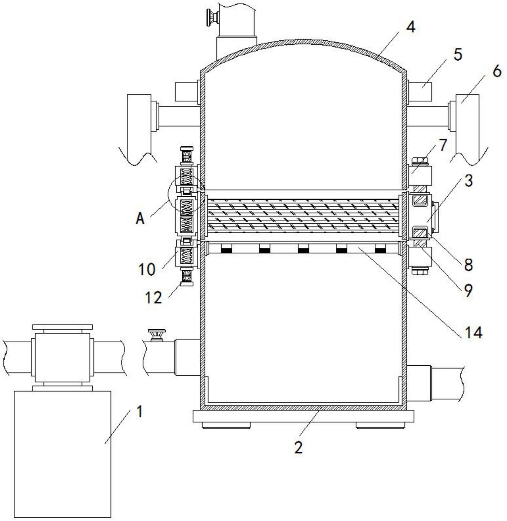
一种蜂窝活性炭固定式吸附床
图片尺寸1632x1677
青岛耐用沸石固定床吸附脱附
图片尺寸1280x960
云南电子废气沸石固定床吸附脱附,沸石固定床吸附脱附
图片尺寸1080x1440
涂布废气吸附回收装置是一种固定环式吸附床装置,以新型吸附材料―
图片尺寸640x450