固定支座怎么画

一种平板电脑支架的制作方法
图片尺寸1000x922
简笔画支架
图片尺寸500x500
支座草图
图片尺寸613x544
一种新型金属管道固定支架
图片尺寸891x727
固定支座设计图
图片尺寸687x523
一种可调贝式固定支具的制作方法
图片尺寸1000x585
下图表示为()支座.a.a.光滑圆柱铰链b.b.可动铰链c.c.固定铰链d.d.
图片尺寸417x481
一种建筑底部用隔震橡胶支座
图片尺寸1847x1622
cn110301993a_一种简易型多用途大鼠股骨外固定支架在审
图片尺寸1000x703
厂家批发双面挡板式固定支座97r412标椎
图片尺寸750x750
cn209091800u_一种可调贝式固定支具有效
图片尺寸1000x583
支架一
图片尺寸1080x816
新型博物馆文物固定支座的制作方法
图片尺寸486x383
一种用于柱构件的固定底座制造技术
图片尺寸580x479
一种用于飞机装配型架的可调角度支座
图片尺寸513x308
固定式引水渡槽专用橡胶支座-爱企查
图片尺寸709x415
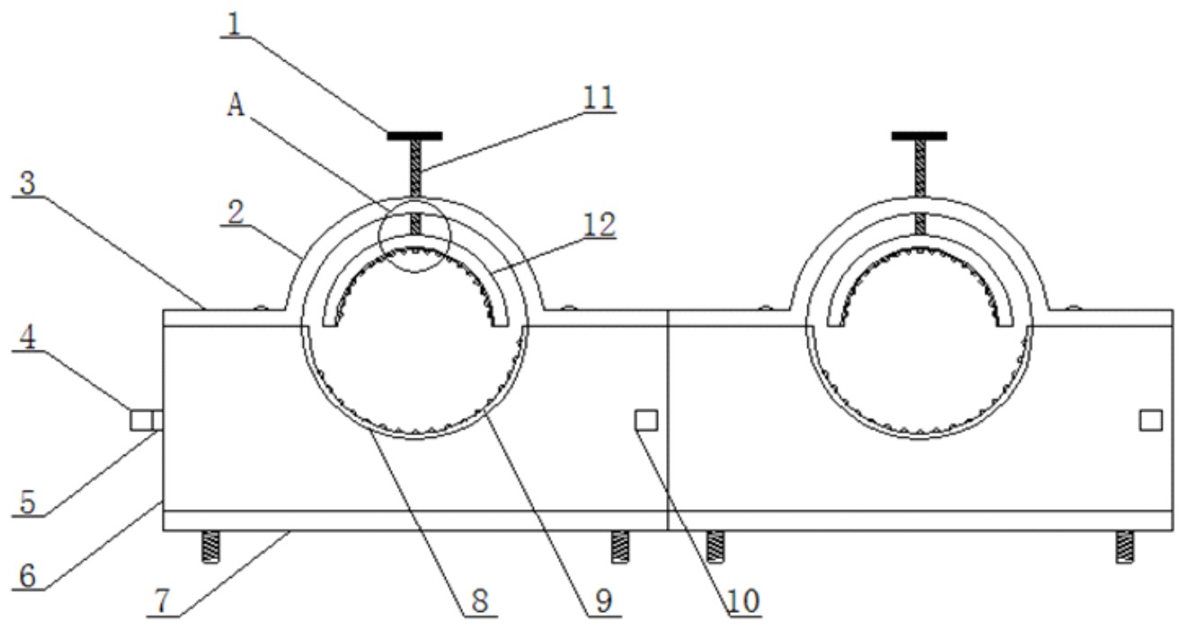
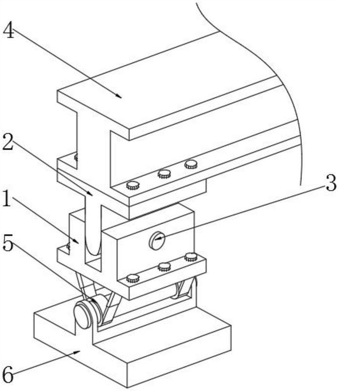
cn213442396u_一种汽车生产用线束安装固定支座有效
图片尺寸1318x701
建筑材料工具的制造及其制品处理技术
图片尺寸399x443
图纸来了:三腿支座 - 抖音
图片尺寸1426x2048
支座结构,所述转动装置包括转动杆,所述转动杆的表面对称固定套接有
图片尺寸694x800