固定支座简图

支座是指把结构与基础联系起来的装置,见表1-1-3. 表1-1-3支座的类型
图片尺寸426x548
【钢结构·技术】网架结构重中之重——支座设计
图片尺寸640x250
固定支座简图
图片尺寸600x300
1左支座零件图pdf
图片尺寸800x566
一种建筑底部用隔震橡胶支座
图片尺寸1847x1622
固定支座简图
图片尺寸400x176
fn fn 辊轴支座 光滑接触面
图片尺寸1080x810
一种固定型式的公路桥梁盆式橡胶支座的制作方法
图片尺寸1000x818
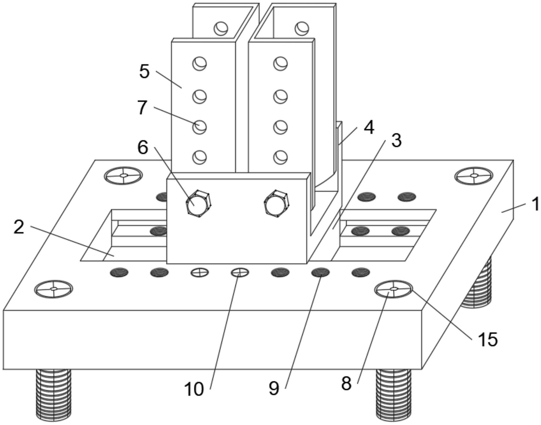
一种抗震支架用固定底座
图片尺寸1861x1463
支承式支座 支承式支座多用于安装在距地坪或基准面较近的具有椭圆
图片尺寸1080x810
固定支座以雨棚为例
图片尺寸184x220
支座草图
图片尺寸613x544
梁的计算简图:梁轴线代替梁,将荷载和支座加到轴线上. 2.
图片尺寸1080x810
结构计算简图中有哪几种支座类型各有什么约束特点
图片尺寸794x289
一种支座制造技术
图片尺寸1000x907
(a2)支座零件图
图片尺寸841x582
一种神经内镜机械固定支架的制作方法
图片尺寸1000x995
固定铰支座是不是可以用这样做
图片尺寸370x254
一种运输预制墙板用的固定支架
图片尺寸1760x1306
悬挂式支座
图片尺寸918x419