固定支架卡板示意图

一种肱骨外科颈夹板的一体式固定方法
图片尺寸1306x1636
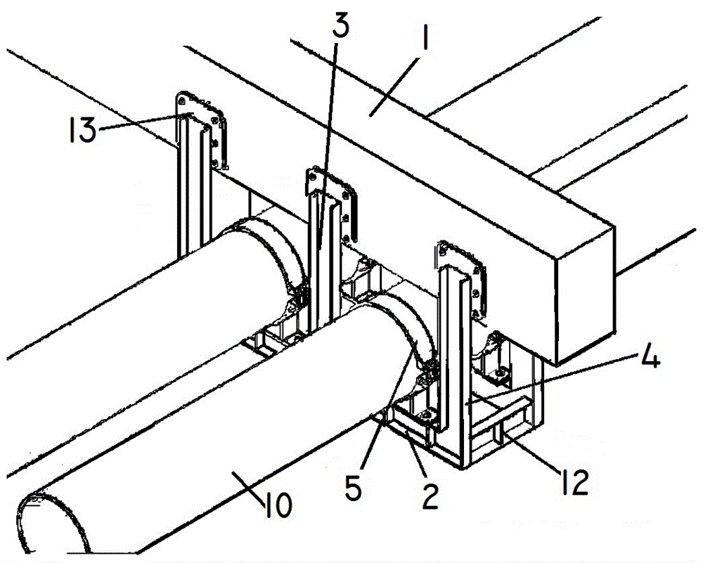
便于拆卸组装的石油管道固定支架的制作方法
图片尺寸1000x977
一种运输预制墙板用的固定支架
图片尺寸1760x1306
一种固定外脚手架带框钢网的卡板装置的制作方法
图片尺寸1000x578
图文详解管道支架制作安装标准
图片尺寸640x293
一种端子机用固定支架-爱企查
图片尺寸1352x1118
一种新型卡板机构制造技术
图片尺寸1000x885
筒灯暗装嵌入式弹簧卡板led天花射灯卡簧耳仔卡扣支架固定卡片
图片尺寸750x750
一种m2卡固定支架结构的制作方法
图片尺寸417x305
cn209523480u_一种并排抱结构梁组合固定支架构造有效
图片尺寸1000x801
3. 吊托架按照其自身的结构形式,管道支架可分为托架,吊架,卡架.
图片尺寸500x269
一种儿童教育机器人固定架的制作方法
图片尺寸910x1000
压力管路固定支架制造技术
图片尺寸1000x900
一种固定卡针的卡板结构制造技术,固定支架卡板专利_技高网
图片尺寸1000x730
图1 内固定支座
图片尺寸402x315
一种线束固定支架的制作方法
图片尺寸1000x852
图文热力管道活动支架和固定支架
图片尺寸300x292
平板电脑通用型固定夹及活动支架
图片尺寸300x225
一种固定液晶面板的卡板治具制造技术,固定支架卡板专利_技高网
图片尺寸1000x731
建筑工程机电管道安装支架标准做法
图片尺寸1256x1062