固晶机图纸

一种全自动平面ic固晶机及固晶方法
图片尺寸1719x1654
固晶机
图片尺寸1935x2250
一种固晶机的制作方法
图片尺寸886x1000
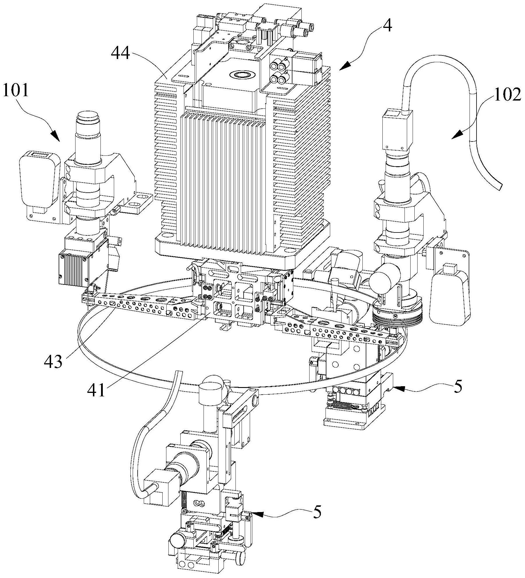
芯片自动修正式固晶机
图片尺寸1808x1989
一种晶元环尺寸可互换的自动固晶机
图片尺寸663x475
cn105448780a_固晶机有效
图片尺寸986x1000
一种新型led固晶机的固晶装置的制作方法
图片尺寸1000x848
一种高速双头自动上下料固晶机的制作方法
图片尺寸1000x949
一种新型led固晶机的固晶装置-爱企查
图片尺寸1500x1271
一种连线led固晶机的制作方法
图片尺寸1000x927
一种连线mini-led固晶机的制作方法
图片尺寸1000x753
高精度固晶贴片机的制作方法
图片尺寸444x264
mini-led全自动固晶机的制作方法
图片尺寸1000x570
一种led固晶的双摆臂固晶装置及其固晶方法与流程
图片尺寸1000x752
一种miniled全自动固晶机的自动换晶环机构的制作方法
图片尺寸1000x915
一种固晶机的蓝膜上料装置及固晶机制造方法及图纸
图片尺寸862x1000
一种led固晶机的万向节固晶机构
图片尺寸1000x832
led固晶机自动加胶装置的制作方法
图片尺寸1000x697
一种led固晶机的万向节固晶机构的制作方法
图片尺寸1000x832
ssd1963ql9 schematic prints
图片尺寸1218x881