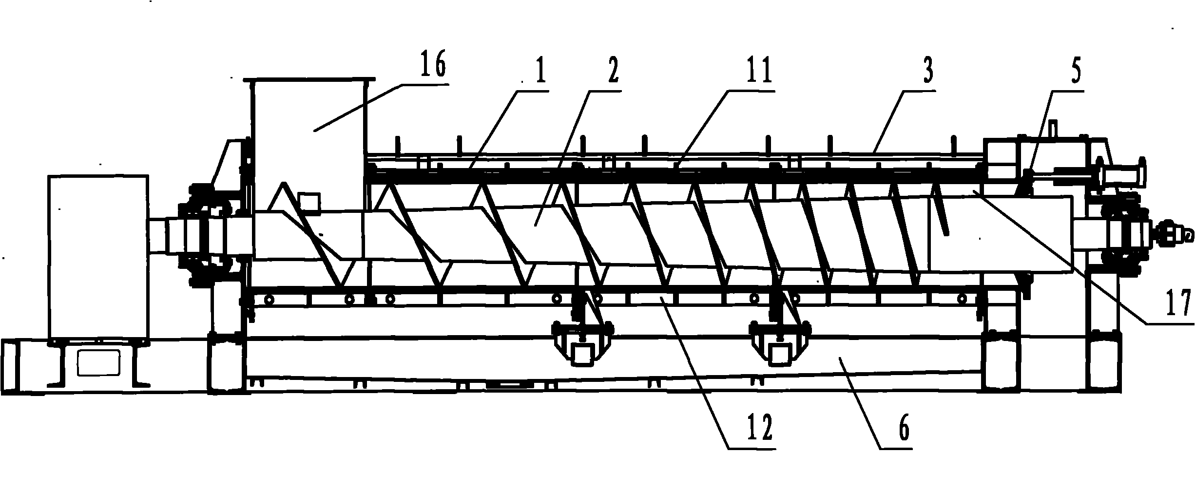
固液分离机结构

猜你喜欢: