图纸小针管

一种静脉采血针管
图片尺寸675x1151
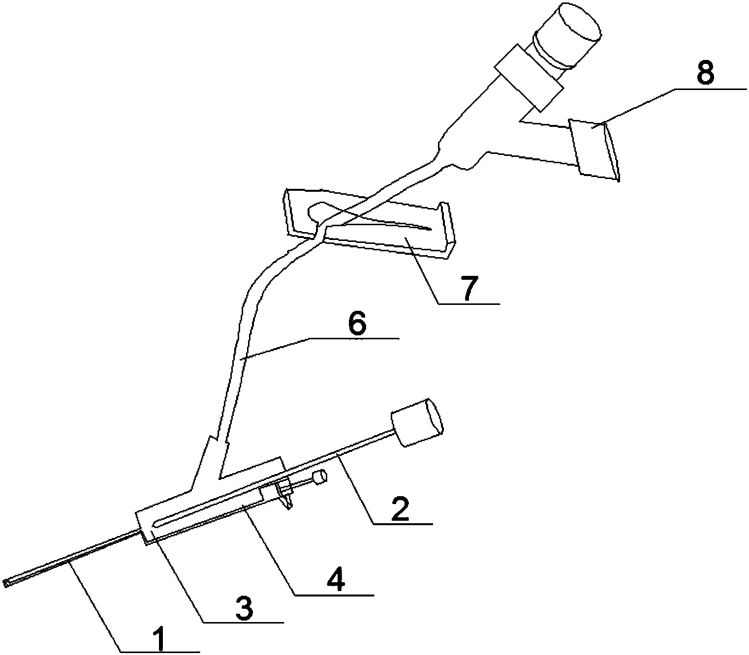
一种可单手抽取关节积液的负压针管
图片尺寸804x2162
本发明涉及一种采血针管,具体涉及一种静脉采血针管
图片尺寸652x1000
一种快捷保存病理标本的穿刺采集针管结构的制作方法
图片尺寸1000x402
安全注射针筒
图片尺寸2214x1824
一种改良型可伸缩的输液管的制作方法
图片尺寸874x1000
一种血液透析专用采血针
图片尺寸1589x2297
一种高压输液管
图片尺寸1000x844
安全针筒
图片尺寸1000x632
无拔模角度的针筒制造技术
图片尺寸986x1000
0单排排针图纸
图片尺寸3680x2480
一种软管带刻度防压静脉留置针的制作方法
图片尺寸1000x979
针管儿童简笔画图
图片尺寸840x840
cn1145814a_保护针头的套管失效
图片尺寸2000x685
针管简笔画的各种画法
图片尺寸800x533
一种可通过注射生理盐水增强超声显影的动脉穿刺针的制作方法
图片尺寸1000x705
cn109276773a_一种新型留置针在审
图片尺寸1522x1332
医药医疗技术的改进医疗器械制造及应用技术
图片尺寸1000x613
针管简笔画画法图片步骤
图片尺寸800x450
一种y型静脉留置针
图片尺寸1796x1909