图纸架图片大全

工厂场内周转架图纸合集的封面图
图片尺寸285x294
某综合管架图纸
图片尺寸560x187
卷图纸摆放架| 图纸架
图片尺寸1500x1000
某学校教学楼脚手架设计cad图纸说明书
图片尺寸707x463
模具架图纸
图片尺寸1027x734
某地某落地式扣件钢管脚手架计算书cad图纸
图片尺寸610x435
平板车运输架图纸合集的封面图
图片尺寸285x230
文件架图纸
图片尺寸285x344
cn100前保物流工装架图下载(450.17 kb,dwg格式) 机械cad图纸
图片尺寸1262x866
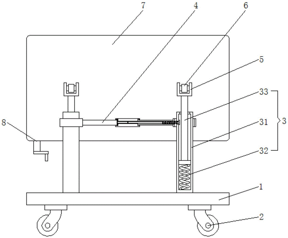
一种房屋建筑用工程图纸展示架
图片尺寸1000x827
料架图纸
图片尺寸285x300
solidedge鞋架图纸
图片尺寸285x386
图纸文件架,图纸存放架,多层钢结构图纸架
图片尺寸700x671
板材展示架 - 商业专用设备图纸 - 沐风网
图片尺寸820x1160
caxa料架图纸
图片尺寸285x320
某地建筑施工外挑脚手架图节点图cad图纸
图片尺寸610x483
图纸陈列架
图片尺寸782x830
solidedge鞋架图纸
图片尺寸285x331
某地建筑施工外挑脚手架图节点图cad图纸
图片尺寸610x384
鞋架图纸
图片尺寸285x293