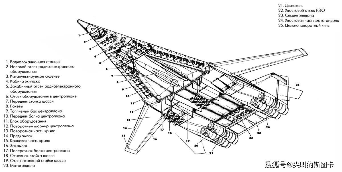
图160气动布局

气动布局分析:可能性还是存在的
图片尺寸1140x550
气动布局的控制律
图片尺寸750x447
组合动力运载器气动布局与气动技术探讨
图片尺寸930x494
超音速_气动布局_黄金
图片尺寸1007x713
飞机的气动布局
图片尺寸580x291
超音速_气动布局_黄金
图片尺寸1200x605
超音速_气动布局_黄金
图片尺寸1000x743
160m最明显的外形变化是尾椎,由原本的细长型改得粗壮且圆润,改善气动
图片尺寸660x441
气动布局
图片尺寸1462x678
气动布局分析:可能性还是存在的
图片尺寸800x563
你一讲气动布局,很多人就跟你讲情怀
图片尺寸640x467
气动布局分析:可能性还是存在的
图片尺寸2016x1353
都知道,无论是哪一种战机,要想超音速飞行,除了要有优越的气动性之外
图片尺寸520x323
服役30年仍是世界第一!俄宁销毁技术也不卖给中国,图160有多强
图片尺寸640x405
正在由伊尔-78加油机进行空中加油的图-160.
图片尺寸1140x640
据了解,agm-142导弹具有正常式气动布局结构,在其头部两侧拥有鸭式
图片尺寸640x356
腹部进气,四台发动机,中等后掠角机翼,大边条,正常式气动布局等这些
图片尺寸550x352
印度前高官大放厥词,要买图160战略轰炸机!
图片尺寸1282x716
服役30年仍是世界第一!俄宁销毁技术也不卖给中国,图160有多强
图片尺寸640x408
服役30年仍是世界第一!俄宁销毁技术也不卖给中国,图160有多强
图片尺寸640x427