圆凳怎么画

圆凳简笔画
图片尺寸500x500
圆椅简笔画
图片尺寸600x470
手绘涂鸦圆凳图片
图片尺寸1000x1000
圆凳的简笔画
图片尺寸329x359
卡通圆凳矢量图下载
图片尺寸610x610
3d 线绘制等距圆凳.白色背景插画-正版商用图片0u7ijy-摄图新视界
图片尺寸700x990
椅子简笔画简单又漂亮椅子简笔画简单又漂亮涂色
图片尺寸500x653
塑料圆凳可折卡通凳儿童凳子幼儿凳子儿童凳子的简笔画画法等等
图片尺寸230x230
圆形椅子草稿手绘
图片尺寸721x1280
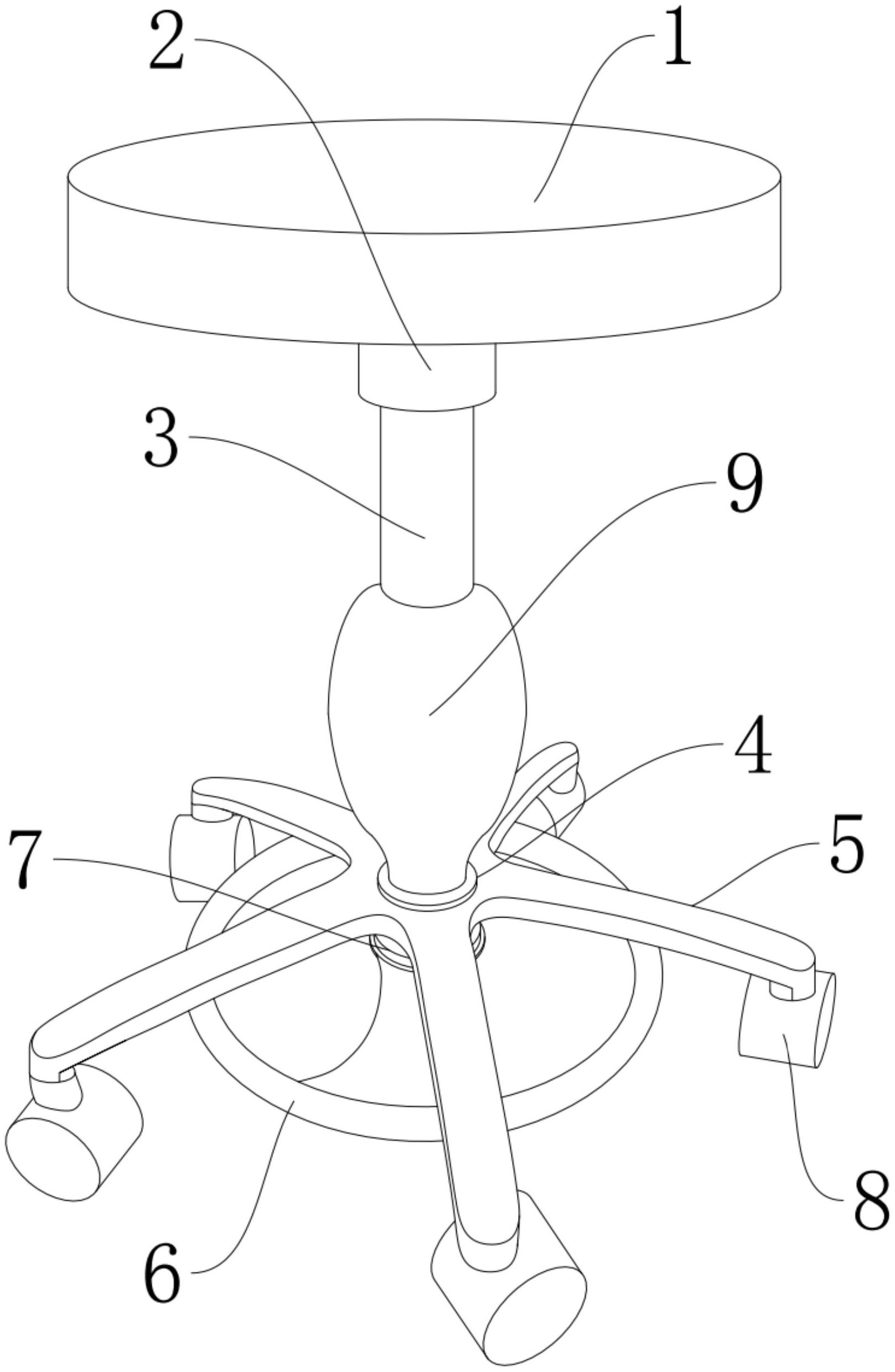
一种脚踏式升降手术圆凳
图片尺寸1617x2479
什么是一木连做,说道说道王世襄书中所题家具
图片尺寸600x800
0 - 圆凳 - soopat专利搜索
图片尺寸672x719
圆扶手椅简笔画
图片尺寸600x470
清代榉木圈椅透视cad图
图片尺寸1311x927
手绘涂鸦圆凳
图片尺寸650x651
儿童小凳子简笔画
图片尺寸500x401
凳子的简笔画怎么画凳子简笔画图片
图片尺寸1600x900
木制的圆形的凳子.矢量绘画照片
图片尺寸245x300
卡通高脚圆凳插画
图片尺寸650x651
景观座凳简笔画
图片尺寸500x1458