圆柱销连接图

选择正确的圆柱销连接图
图片尺寸473x260
圆柱销联接的画法
图片尺寸1080x810
圆柱销pdf
图片尺寸920x1302
圆柱销pdf
图片尺寸800x566
2,销联接的画法 (1) 圆柱销联接 ⒉ 圆锥销联接
图片尺寸806x445
/p> p>圆柱销靠过盈固定在孔中,用以固定零件,传递动力,或作 a
图片尺寸832x1056
下列关于圆柱销的连接图画法正确的是
图片尺寸624x442
铆钉(销轴) 铆钉(销轴)连接
图片尺寸1080x810
圆柱销二
图片尺寸887x1257
3,销连接
图片尺寸1080x810
gb/t120内螺纹圆柱销(a3磨光)
图片尺寸781x334
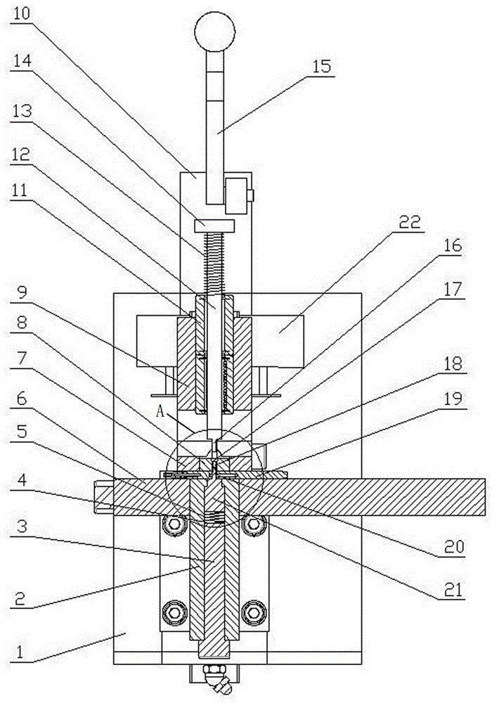
弹性圆柱销安装装置
图片尺寸703x1000
销联接图文教程
图片尺寸990x576
/p> p>圆柱销靠过盈固定在孔中,用以固定零件,传递动力,或作 a
图片尺寸864x1088
/p> p>圆柱销靠过盈固定在孔中,用以固定零件,传递动力,或作 a
图片尺寸928x928
怎么样用销来连接转动副?
图片尺寸279x262
/p> p>圆柱销靠过盈固定在孔中,用以固定零件,传递动力,或作 a
图片尺寸864x896
圆柱销
图片尺寸1406x515
下图中圆锥销连接画法正确的是
图片尺寸890x326
机械制图_齿轮,键,销ppt
图片尺寸1080x810