圆跳动标注

求第5小题和第3小题圆跳动怎么标注,标注那个位子
图片尺寸491x338
第30课形位公差圆跳动
图片尺寸647x552
跳动公差公差带定义标注解释及示例
图片尺寸810x529
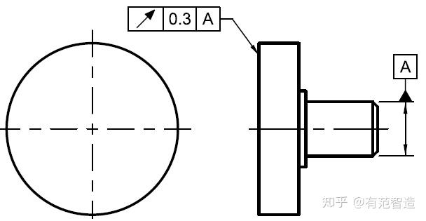
圆跳动标注
图片尺寸818x612
24,圆跳动(径向)▼
图片尺寸640x512
圆跳动怎么计算?
图片尺寸972x1296
25,圆跳动(轴向)▼
图片尺寸639x548
机械图纸符号里面的全跳动,圆跳动是什么意思?
图片尺寸418x524
gd&t之圆跳动详解,你想了解的都在了没
图片尺寸640x738
机械图纸每日一符圆跳动
图片尺寸608x315
圆跳动
图片尺寸1038x397
圆跳动公差求解
图片尺寸819x602
圆跳动
图片尺寸720x400
26,圆跳动(斜向) ▼
图片尺寸639x446
径向圆跳动的基准问题
图片尺寸710x294
圆跳动与全跳动区别
图片尺寸391x530
gd&t之圆跳动详解,你想了解的都在了没
图片尺寸640x246
圆跳动
图片尺寸722x262
圆跳动的表示
图片尺寸578x417
圆跳动与全跳动区别
图片尺寸388x526