圆顶阀气路图

ydf ydf充气式气动圆顶阀
图片尺寸430x430
50种控制阀气路结构与原理-天津一诺成科技有限公司
图片尺寸960x618
阀门- 热门商品专区
图片尺寸870x453
干货50种控制阀气路结构与原理
图片尺寸960x617
干货50种控制阀气路结构与原理
图片尺寸792x527
高压圆顶阀/高温圆顶阀
图片尺寸518x451
控制调节阀的标准气路图
图片尺寸920x1302
干货50种控制阀气路结构与原理
图片尺寸799x574
重庆川仪vbjg型调节阀气路图15-02-05
图片尺寸1204x1190
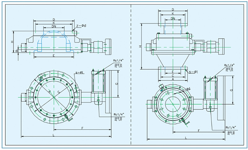
亿核陶瓷阀门ydfb圆顶阀
图片尺寸400x443
抽气装置大管径先导阀控制气路
图片尺寸1989x1137
常州凯润 42crmo圆顶阀 dn300
图片尺寸800x485
干货50种控制阀气路结构与原理
图片尺寸750x404
ydf气动圆顶阀
图片尺寸538x387
一种高温用水冷圆顶阀的制作方法
图片尺寸1000x946
一种用于气力输送系统圆顶阀的智能控制系统技术方案
图片尺寸1000x498
球阀液压回路设计的制作方法
图片尺寸1000x742
ydf-b郑州圆顶阀 ydf-b 上海上嘉
图片尺寸338x292
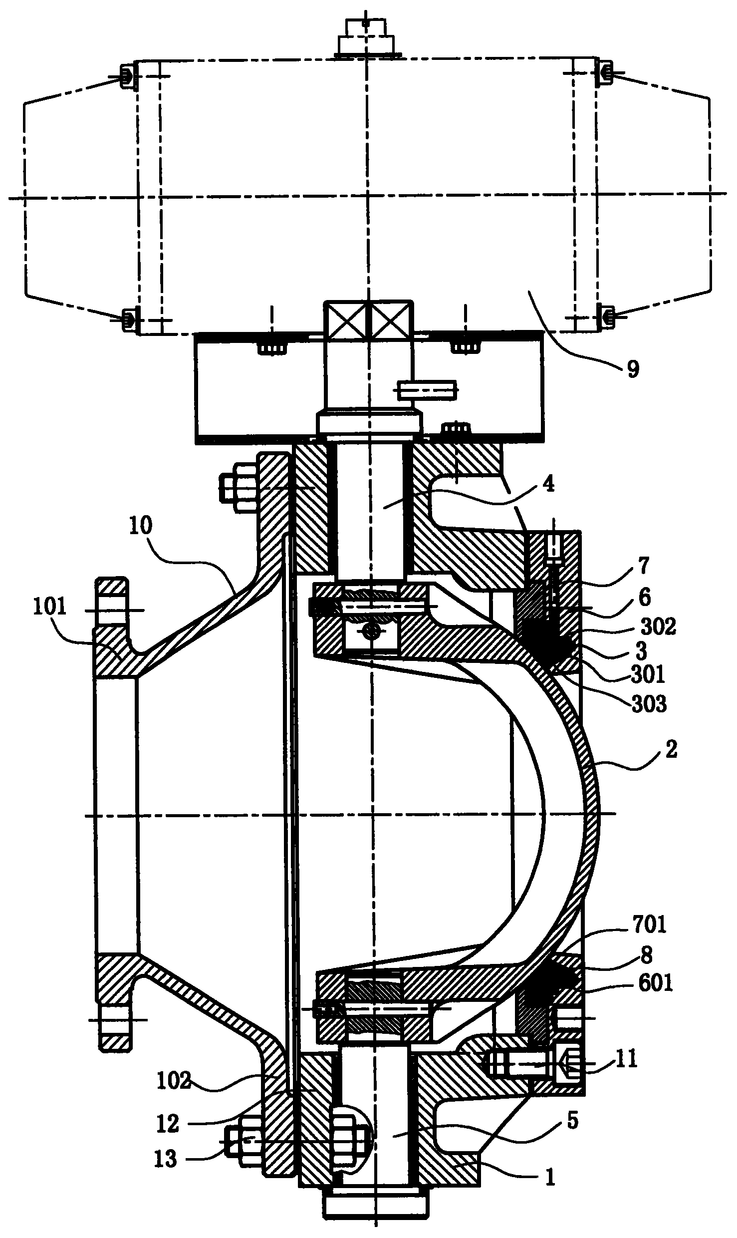
一种无磨损球缺式圆顶阀
图片尺寸1477x2480
一种气力输送用的圆顶进料阀的制作方法
图片尺寸443x346