土陶窑的结构图

窑炉基本结构
图片尺寸640x492
图三临淄后李遗址陶窑y6平,剖面图
图片尺寸698x465
倒焰窑结构及工作原理示意图
图片尺寸553x395
柴窑结构
图片尺寸1080x540
套筒石灰窑结构图
图片尺寸640x788
它的结构包括3个主要部分窑体(有圆窑和矩形窑),燃烧设备和通风设备
图片尺寸640x500
图2. 梭式窑结构如图
图片尺寸640x541
小心假柴窑更要小心没审美的真柴窑
图片尺寸475x496
1800_燃气倒焰窑的设计与使用
图片尺寸696x559
明代湖建德化发明了阶级窑,集合了龙窑和馒头窑的优势.
图片尺寸650x426
套筒式竖窑
图片尺寸299x625
什么是窑?_工程-考高分网
图片尺寸800x852
对间歇式窑单独窑的特征情况的一些说明
图片尺寸344x255
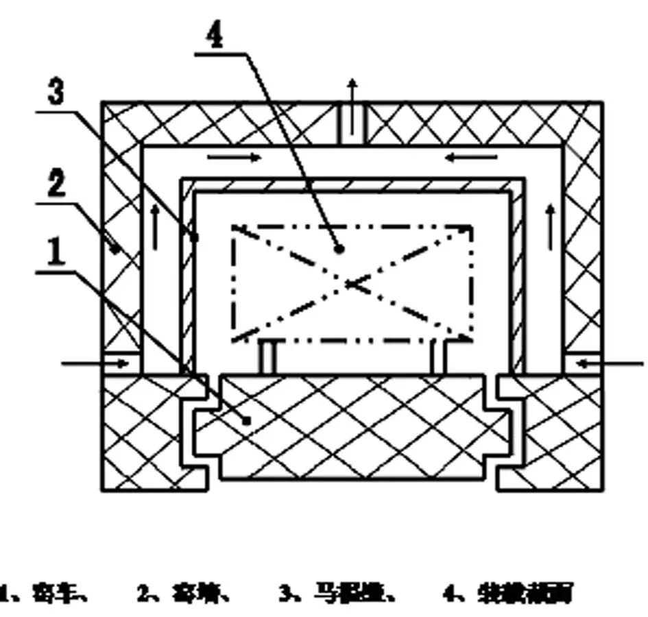
冷却带马福式窑墙结构图
图片尺寸945x900
陶粒砂回转窑结构图
图片尺寸480x315
双室面包窑,手造窑 | 萌化整颗心的家庭面包窑
图片尺寸605x852
细说紫砂壶烧制的窑炉二倒焰窑
图片尺寸640x403
一种节能型双层陶瓷隧道窑的制作方法
图片尺寸999x1000
窑炉结构示意图,窑址出土窑具示意图淄博窑标本对外传播与后续影响812
图片尺寸900x372
陶瓷梭式窑的结构特点
图片尺寸754x508