地坑泵构造图

tl型脱硫地坑泵
图片尺寸512x592
wlt60-30液下式脱硫泵地坑泵耐腐蚀浆液排出泵厂家直销
图片尺寸790x1391
nl型液下泥浆泵 山菱阀门
图片尺寸450x637
zjl渣浆泵 65zjl-30立式长轴矿用工业液下泥浆泵 出口品质 地坑泵
图片尺寸750x1052
液下泵结构说明
图片尺寸794x1123
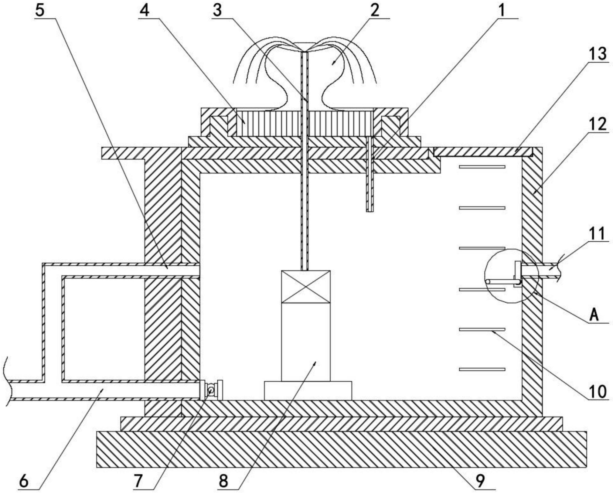
一种耐辐照核电用地坑泵
图片尺寸1786x1309
一种立式液上自吸式地坑离心泵的制作方法
图片尺寸799x1000
轻型大功率钻井泥浆泵-爱企查
图片尺寸1674x932
污水排污泵 wq耐磨不锈钢无堵塞潜水式排污泵
图片尺寸533x635
uhbzk耐腐耐磨砂浆泵
图片尺寸2442x1656
zgb系列渣浆泵
图片尺寸986x818
一种立式液上自吸式地坑离心泵制造技术
图片尺寸1000x913
立式耐磨液下渣浆泵 脱硫浆液泵 矿用泥浆泵 80yz45-32
图片尺寸600x577
加气混凝土专用泵渣浆泵
图片尺寸800x1096
水池底泵坑详图
图片尺寸610x432
大功率污水泵
图片尺寸518x700
一种景观水池侧壁式泵坑
图片尺寸2019x1627
nl泥浆泵介绍
图片尺寸546x683
泵坑详图
图片尺寸560x511
40zjl-b25扫地泵 液下渣浆泵
图片尺寸750x780