地漏示意图

2,地漏的功能分类
图片尺寸1588x879
家里地漏容易堵又返臭,老婆塞个乳胶套轻松解决,师傅夸赞真聪明
图片尺寸415x243
三款常用暗藏地漏节点.
图片尺寸1303x1738
非常芯地漏 非常芯,一地漏品牌,它是直通密闭式地漏采用反向重力机械
图片尺寸1012x527
地漏看似不起眼,但也不是想买就随便买一个,选地漏也是有方法的
图片尺寸790x506
水封式地漏结构原理示意图
图片尺寸750x380
手工绘图教你如何避坑 最近在总是刷到地漏断层的问题,俨然成了装修的
图片尺寸1707x1280
解决卫浴难题从正确安装地漏开始
图片尺寸640x640
地漏下方需要装存水弯吗?hjsj-2022
图片尺寸1080x805
地漏和下水管的正确连接方法 1,根据下水管口径选地漏 在购买地漏之前
图片尺寸1922x1280
地漏_马桶_我家
图片尺寸1080x680
故地漏使用时用到的物理知识是连通器的原理; 故选d.
图片尺寸760x859
97干货分享‖不起眼的地漏用处可大了 地漏的作用是排水,过滤,防
图片尺寸1546x1280
排水地漏的功能与种类
图片尺寸672x496
地漏防水构造示意图
图片尺寸640x578
下水正确做法,解决地漏返味!#装修 #装修设计 #室内设计 - 抖音
图片尺寸1080x1568
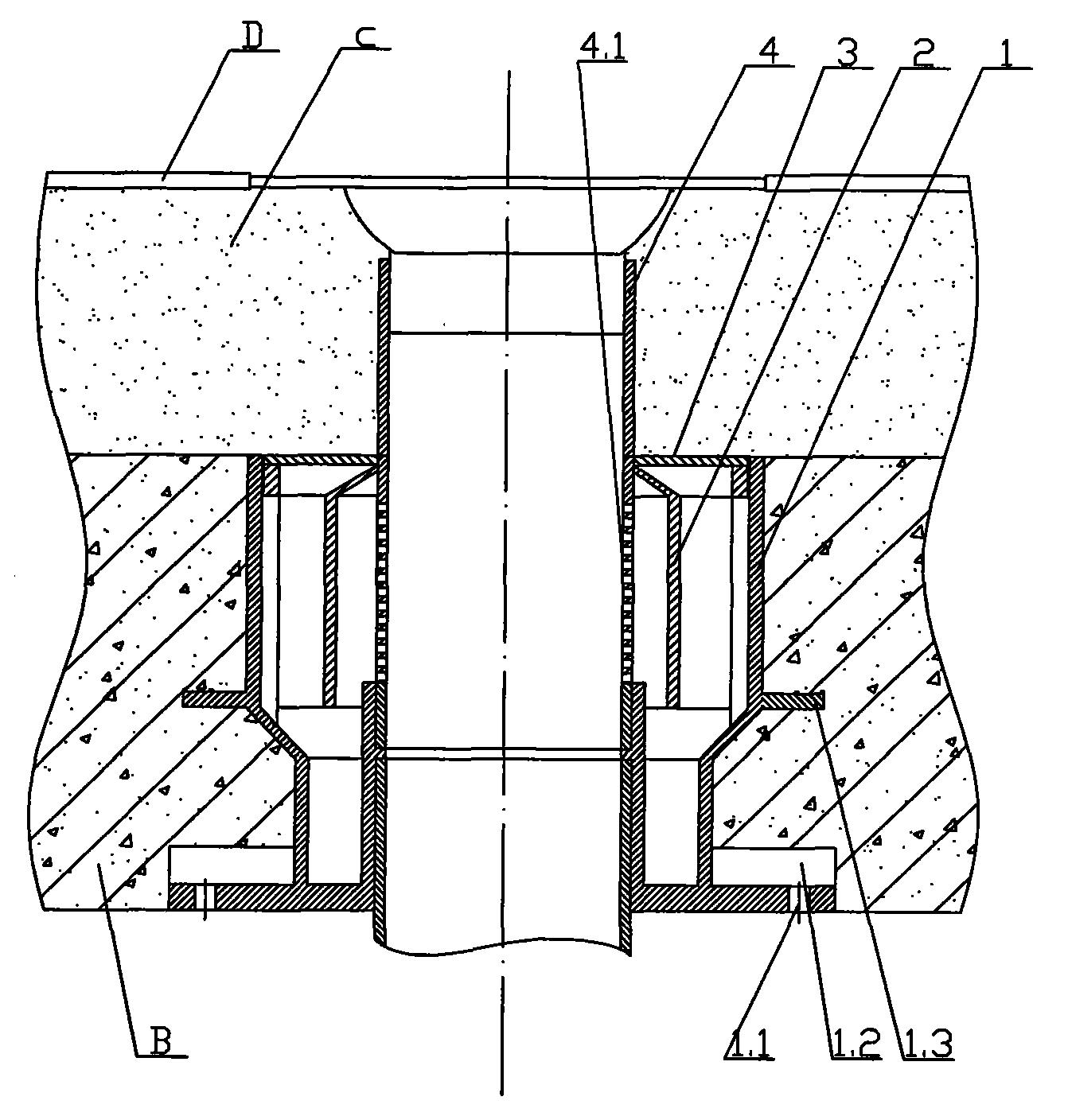
预埋式防渗地漏-爱企查
图片尺寸1342x1408
快鲨暗漏二次排水暗地漏同层排水积水器50pvc简二排下沉式卫生间
图片尺寸750x1000
【地漏】地漏安装图集|地漏价格|地漏品牌介绍
图片尺寸600x400
选对地漏不踩坑,攻略在此,快来学习吧.地漏虽然在家里不是很起 - 抖音
图片尺寸522x639