地牛工作原理图

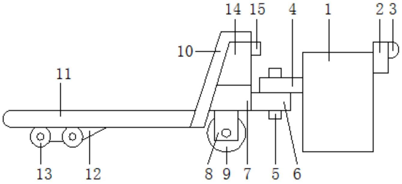
一种防止托盘在运输过程中滑落的地牛
图片尺寸969x1000
手动地牛叉车"液压部分"的拆装这样操作
图片尺寸482x258
一种防止托盘在运输过程中滑落的地牛的制作方法
图片尺寸968x1000
诺力手动叉车 低放型液压地牛2吨搬运车手推手拖车铲车ac-low
图片尺寸970x367
激光slam导航高效地牛型叉车agv
图片尺寸1339x614
图地牛叉车原理及特点图文详解
图片尺寸600x350
5吨电动拖板车地牛
图片尺寸750x485
液压地牛搬运车 通用地牛叉车厂家自产自销价格低
图片尺寸558x704
地牛图解
图片尺寸1054x716
手动搬运车手柄安装细节不可忽视
图片尺寸635x515
上海全电动叉车 全自动托盘液压搬运车2t地牛锂电池小金刚1吨 载重1.
图片尺寸750x1081
全电动搬运车叉车/托盘车步行地牛装卸车 电瓶叉车/电动液压叉车
图片尺寸720x559
0t 地牛】诺力 noblift 手推车 dfe2t手动液压搬运车 685*1220双小轮
图片尺寸666x503
中国名牌地牛手动叉车搬运车(诺力,蚁霸)质量好价格优
图片尺寸600x320
5t 拖车 地牛 手动液压叉车 手动托盘搬运车
图片尺寸500x430
全电动地牛加速器高温线束48v1200w无刷控制器电动搬运车配件
图片尺寸1000x814
拖板车电动叉车搬运车液压叉车地牛地拖车升降叉车1吨2吨托盘车 3吨
图片尺寸750x1088
地牛维修油缸底部漏油分析
图片尺寸750x465
标沐 电动地牛叉车 电动叉车1吨西林电动地牛叉车液压手动半电动叉车1
图片尺寸790x1500
海唯派升降货物堆垛脚踏式地牛货叉3吨液压搬运车
图片尺寸790x785