地笼结构图

一种地笼
图片尺寸1330x1263
套捕小龙虾的池塘地笼
图片尺寸1062x666
一种饲喂教养的全自动驯养鸟笼
图片尺寸765x1000
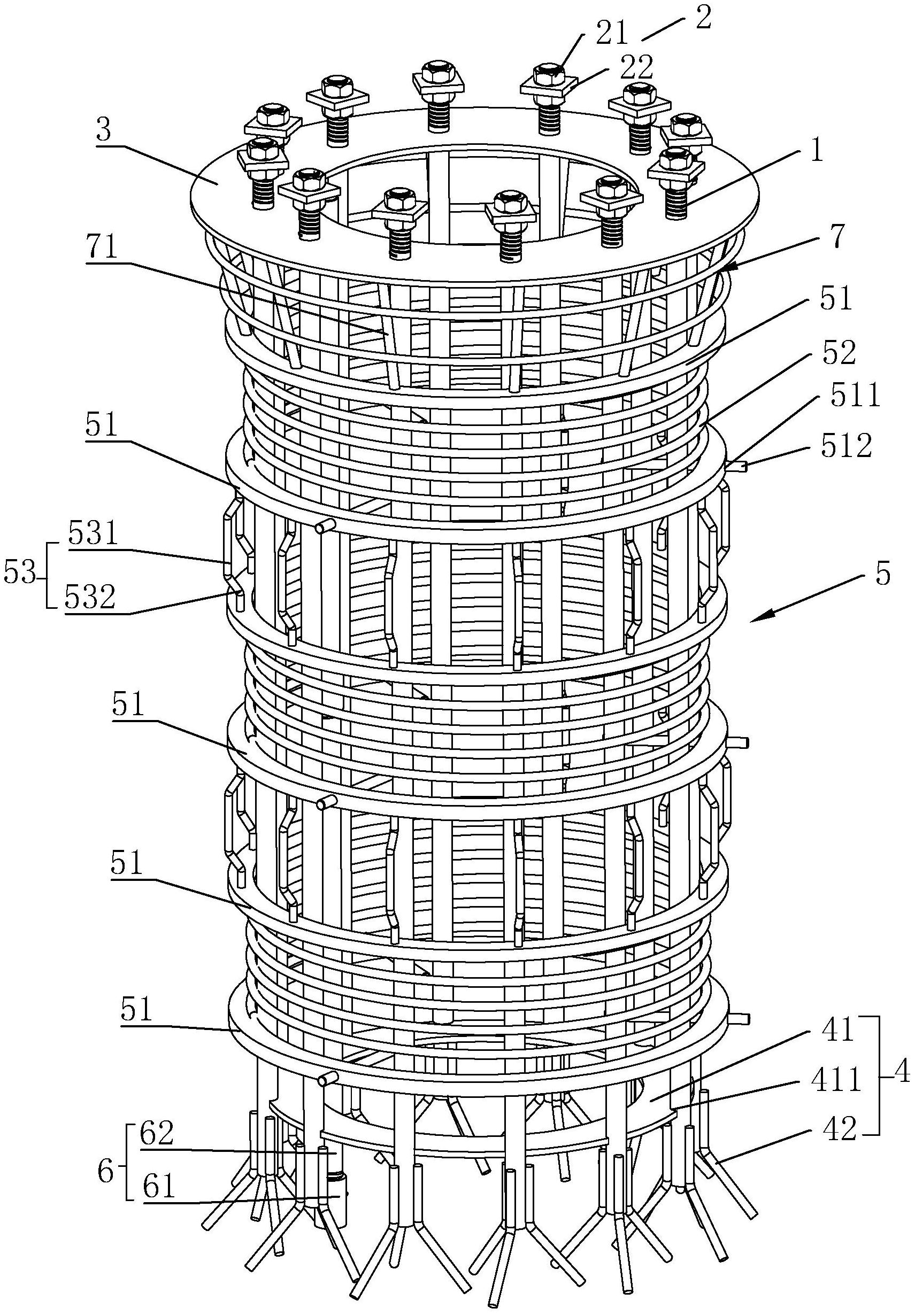
一种便于安装的可拆卸路灯地笼的制作方法
图片尺寸711x1000
一种路灯地笼的制作方法
图片尺寸422x344
cn209084696u_一种便于安装的可拆卸路灯地笼有效
图片尺寸710x1000
一种便携式再生混凝土电杆用基础地笼的制作方法
图片尺寸766x1000
基础地笼尺寸图
图片尺寸684x530
海康威视专业监控器材配件 立杆地笼
图片尺寸784x3292
结构2一种双层套管混凝土桩及其施工方法3一种生根增强型灌注桩施工
图片尺寸1744x2436
捕养地笼的制作方法
图片尺寸587x518
一种路灯安装地基预埋地笼结构的制作方法
图片尺寸566x399
一种适用中大型犬的犬笼的制作方法
图片尺寸1000x696
太阳能路灯基础地笼规格
图片尺寸920x1303
通信塔预埋式地笼结构-爱企查
图片尺寸1711x2462
一类交调站门架基础地笼图(2/3)
图片尺寸820x658
地墙钢筋笼吊点搁置示意节点详图
图片尺寸922x489
蛋鸡鸡笼 - 新乡市易展养殖设备有限公司
图片尺寸800x500
地笼尺寸图
图片尺寸590x797
供应路灯预埋件 路灯地笼 太阳能路灯基础笼 路灯基础施工安装
图片尺寸547x720