地笼结构图解

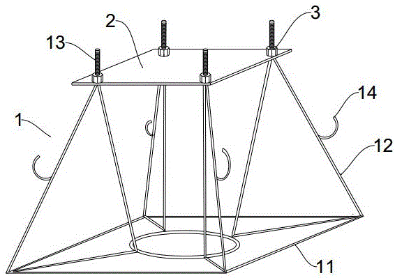
作为建筑施工中使用的建筑预埋地笼,主要用于为建筑提供钢架结构,便于
图片尺寸867x1000
cn209323560u_通信塔预埋式地笼结构有效
图片尺寸694x1000
通信塔预埋式地笼结构的制作方法
图片尺寸697x1000
套捕小龙虾的池塘地笼
图片尺寸651x409
警犬训练专用z型地笼的制作方法
图片尺寸881x1000
路灯基础地笼的要求和计算方法
图片尺寸720x509
一种路灯地笼的快速安装结构的制作方法
图片尺寸599x1000
一种路灯安装地基预埋地笼结构的制作方法
图片尺寸566x399
所述地笼筒体(2)呈z字形结构
图片尺寸1000x472
一种路灯安装地基预埋地笼结构的制作方法
图片尺寸1000x904
通信塔预埋式地笼结构-爱企查
图片尺寸1711x2462
一种路灯安装地基预埋地笼结构
图片尺寸566x399
太阳能路灯基础地笼规格
图片尺寸920x1302
背景技术:现有的地笼结构,如打桩时埋设的地笼,亦或是标志牌杆预埋地
图片尺寸937x1000
30m地笼-布局5
图片尺寸1920x1920
笼自动抓鱼捕鱼虾工具金蟾折叠手抛网捕鱼网地笼 双层防逃跑捕鱼
图片尺寸1500x1500
一种便携式新材料地笼预埋件的制作方法
图片尺寸374x443
厂家批发2米3米4米5米10米20米地笼虾笼捕虾网折叠渔网.
图片尺寸800x800
一种地笼收捕河蟹末端收集结构的制作方法
图片尺寸443x347
地笼的原理是什么
图片尺寸600x372