地脚螺栓打毛

86号塔地脚螺栓没紧固,没打毛!
图片尺寸2667x2000
87号地脚螺栓未紧固,未打毛!
图片尺寸2000x2667
地脚螺栓
图片尺寸2368x4208
该如何安装地脚螺栓?
图片尺寸498x374
衡水固定地脚螺栓
图片尺寸750x750
地脚螺栓
图片尺寸1236x1236
南湾m42地脚螺栓便宜
图片尺寸1280x1280
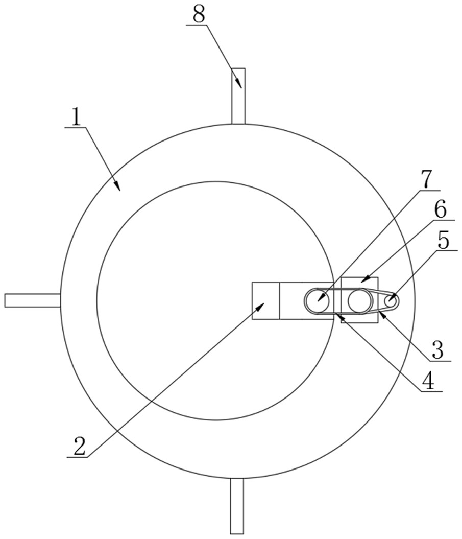
一种具有调节功能的输电铁塔地脚螺栓打毛装置
图片尺寸905x1055
永年地脚螺栓预埋7字地脚螺栓 塔吊地脚螺栓厂家价格
图片尺寸750x750
地脚螺栓和普通螺栓有什么不同?
图片尺寸800x800
地脚螺栓
图片尺寸1000x667
预埋地脚螺栓厂家 规格 型号 标准 价格 生产厂家
图片尺寸960x541
热镀锌地脚螺栓厂家设计螺栓考虑问题
图片尺寸640x480
l型地脚螺栓厂家源头**厂家「多图」
图片尺寸600x660
地脚螺栓锚固灌浆材料推荐
图片尺寸554x262
该如何安装地脚螺栓?
图片尺寸808x614
地脚螺栓
图片尺寸1024x628
厂家直销 钢结构地脚螺栓
图片尺寸1920x2560
定做双头螺栓 地脚螺栓
图片尺寸2448x3264
万通鑫*加工地脚笼/各种地脚螺栓
图片尺寸931x930