地震仪结构

四千年地震史,只出现过一台神级地动仪
图片尺寸580x477
基于eews原理的地震监测仪设计
图片尺寸1280x701
东汉张衡发明的地动仪竟被网民指为伪造?
图片尺寸1080x374
为此,冯锐决定先从地震仪内部结构着手进行研究,在冯锐团队的不懈努力
图片尺寸660x462
地震仪的前世今生来了解一下
图片尺寸650x488
地震仪雏形(1887)和首套地震仪结构(1893)1895年7月,米尔恩在英国建设
图片尺寸649x403
背景技术:海底地震仪在研究地壳运动,资源勘探开发,地球内部结构成像
图片尺寸1000x654
地震仪,了解一下 - 知乎
图片尺寸1080x810
一种低功耗宽频带单舱球海底地震仪制造技术
图片尺寸1000x833
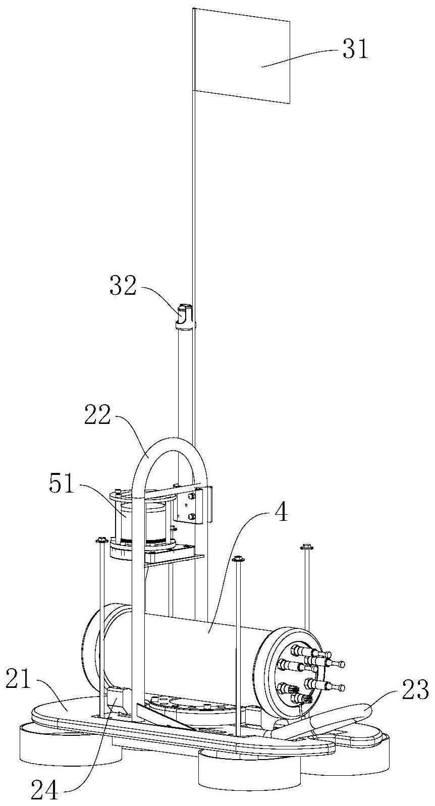
一种海底地震仪
图片尺寸862x1597
中国科学院地质与地球物理研究所
图片尺寸1788x1246
一种地震仪制造技术
图片尺寸862x797
地震仪还不如房上挂腊肉!教科书骗了我们吗?
图片尺寸400x300
地震仪还不如房上挂腊肉!教科书骗了我们吗?
图片尺寸320x240
一种浅层地震勘探震源仪的制作方法
图片尺寸937x1000
背景技术:地震仪在能源勘探,地震观测,研究地壳运动,地球内部结构成像
图片尺寸1000x838
地震仪
图片尺寸831x557
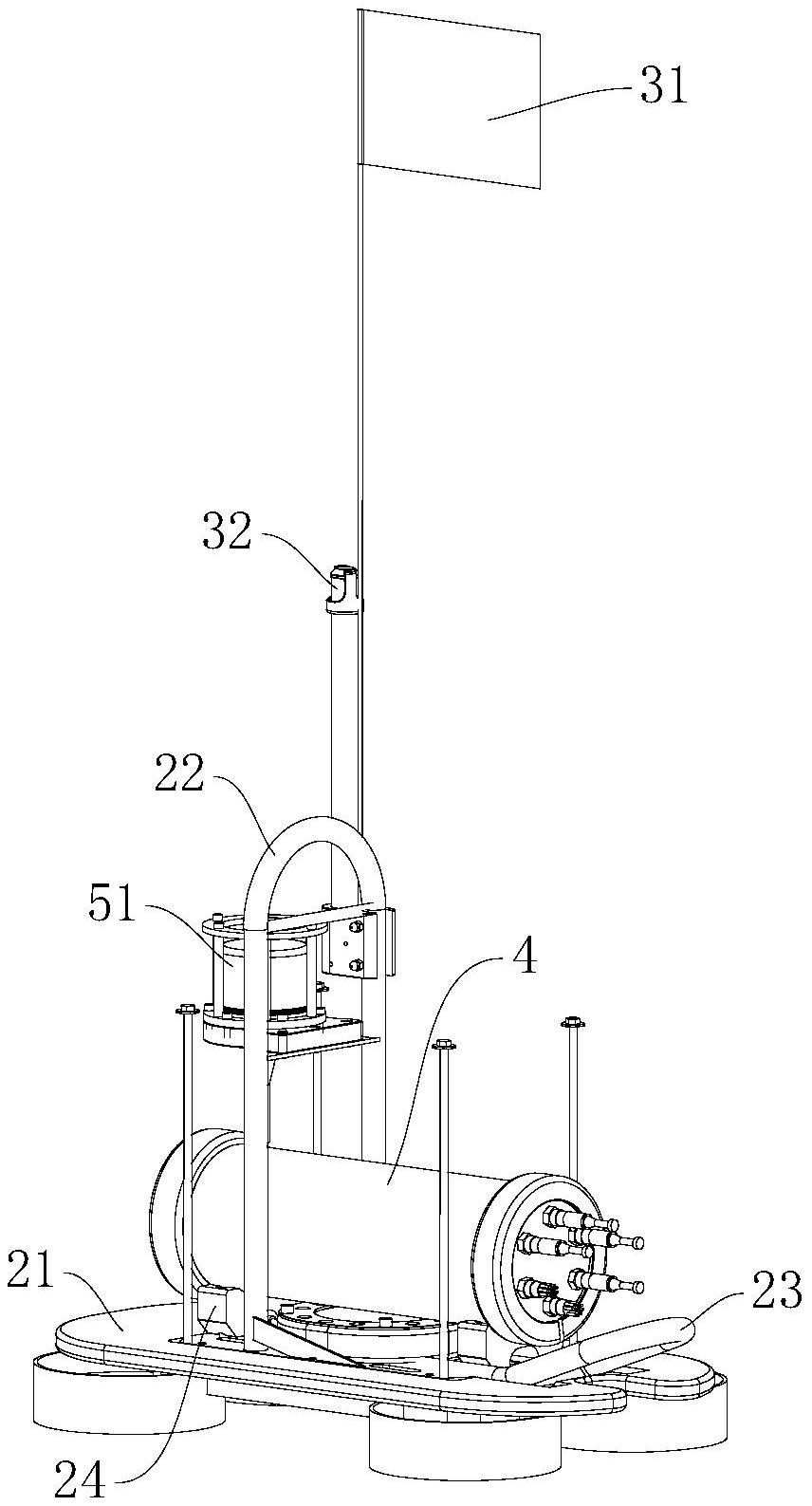
一种海底地震仪
图片尺寸856x1587
后来,中国地震台网中心研究员冯锐也设计出新的地动仪,他认为张衡的
图片尺寸600x448
数字地震仪 - 煤炭百科
图片尺寸746x334