坐板装置

任意高度进行作业的工作系统,由工作绳,下降器,连接器和座板装置组成
图片尺寸533x289
安全消防救生装置及其产品制造技术
图片尺寸1000x928
座椅上的那些点你get到了吗
图片尺寸414x490
安全座板高空作业墙外清洗救援逃生软体坐板 厂价直销1
图片尺寸800x800
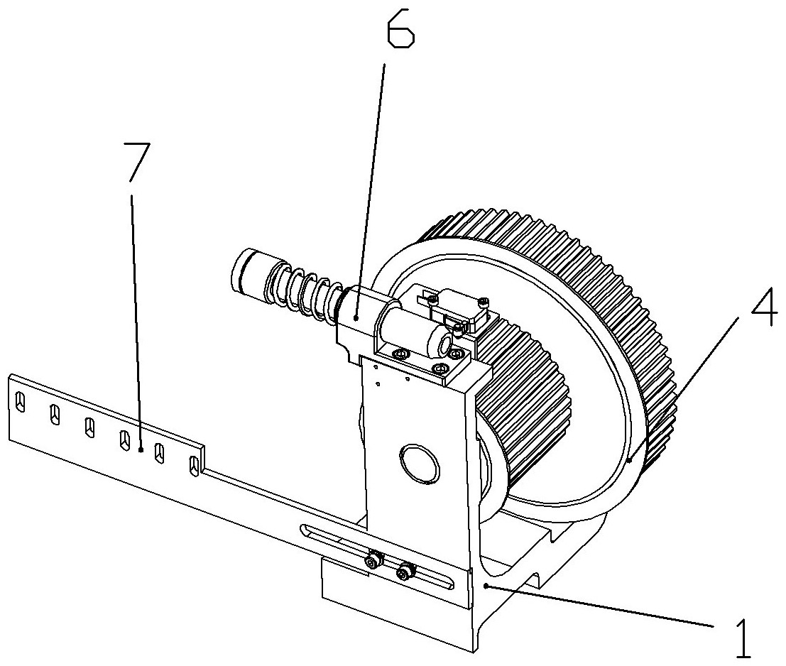
贴片铝电解电容器上座板装置的制作方法
图片尺寸970x1000
贴片铝电解电容器上座板装置
图片尺寸1750x1803
设备台座安装限位装置,有效控制设备水平移位. 保温篇
图片尺寸1080x1620
固定球形支座 成品双向滑动支座 桥梁球形钢支座
图片尺寸750x750
cn2331570y_脚踏车座板升降架失效
图片尺寸1728x1871
用于焊接桥面板的固定装置的制作方法
图片尺寸988x1000
支座装置终了.
图片尺寸860x737
独脚站脚可选配下送风装置,有效改善礼堂/剧院内的空气流通,座背板
图片尺寸748x560
包括床框架组件,驱动装置,与驱动装置连接的丝杠组件,支撑底座和支撑
图片尺寸1746x1512
它主要由座板,靠背,支架,支架摇臂,升降定位装置和椅脚构成,其特征
图片尺寸1000x888
防尘板座除锈装置和方法
图片尺寸1936x1928
1000mw汽轮发电机组仿真模型 汽轮发电机剖面模型_台座_装置_台面
图片尺寸1280x960
辅助安装设备装置技术领域;它包括支撑框架,在支撑框架上设置有抱箍座
图片尺寸800x569
1节距 3倍速张紧装置座子
图片尺寸744x755
电脑横机传动组的主同步带轮座装置-爱企查
图片尺寸1107x938
试验机 hlflj 水平及竖向反力装置 反力架加载系统 1,箱式反力台座
图片尺寸1121x784