坡的结构

不同坡体结构的边坡示意图
图片尺寸706x351
建筑构造图集11地下车库坡道
图片尺寸1080x615
结构找坡 结构找坡是指将屋面板倾斜搁置在墙体或屋面梁及屋架上的一
图片尺寸1080x810
土坡的稳定性分析ppt
图片尺寸1080x810
建筑构造图集13地下车库坡道3
图片尺寸1080x810
cn212358342u_一种防滑坡建筑结构有效
图片尺寸1433x1241
坡屋顶承重结构有哪些种类?_挂云帆
图片尺寸1271x1131
坡陡的地方, 等高线密集.
图片尺寸1080x810
平叠坡 主要软弱结构面为水平的.这种斜坡一 般比较稳定. 19-4
图片尺寸1080x810
9-5台阶与坡道ppt
图片尺寸1080x810
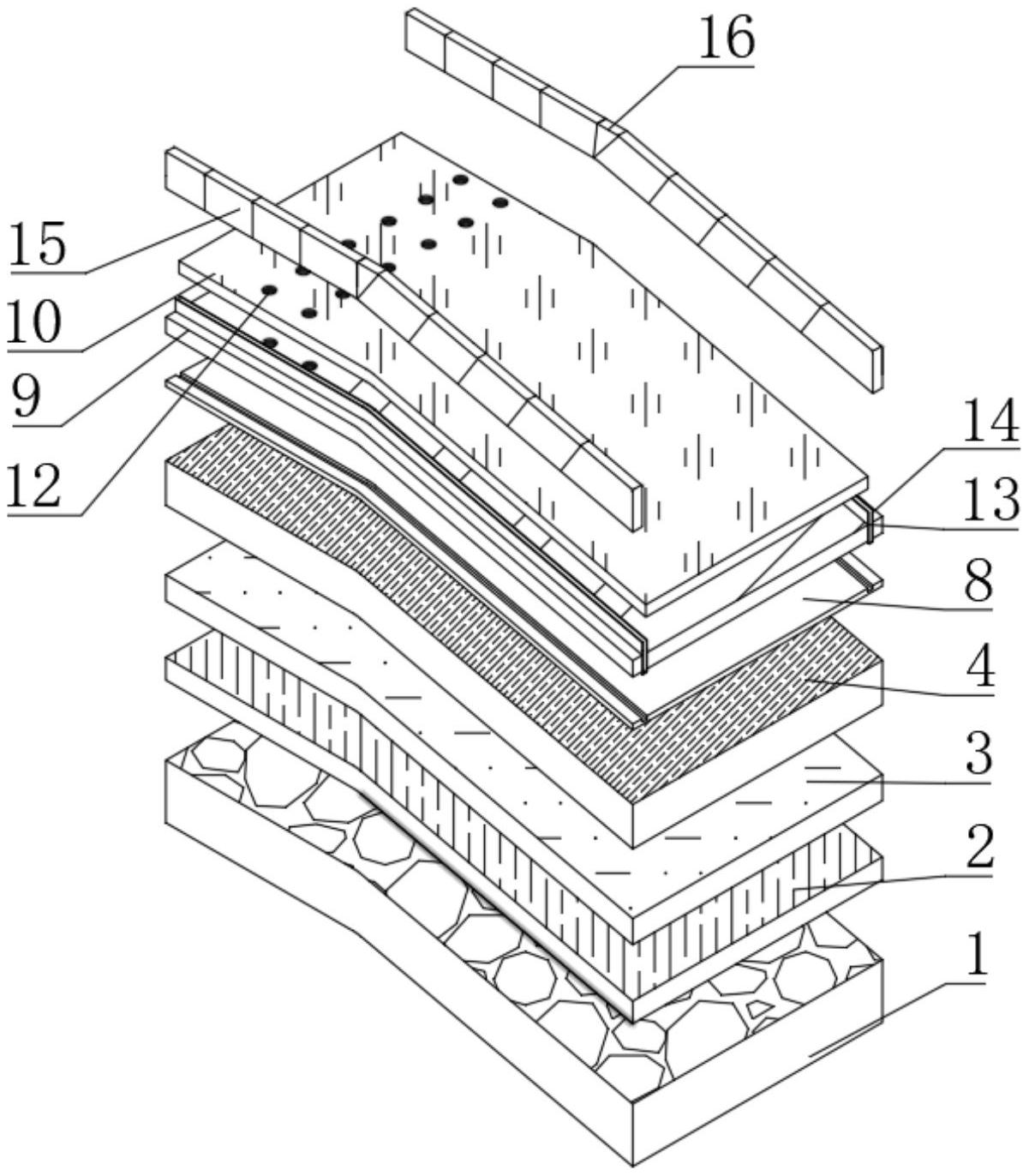
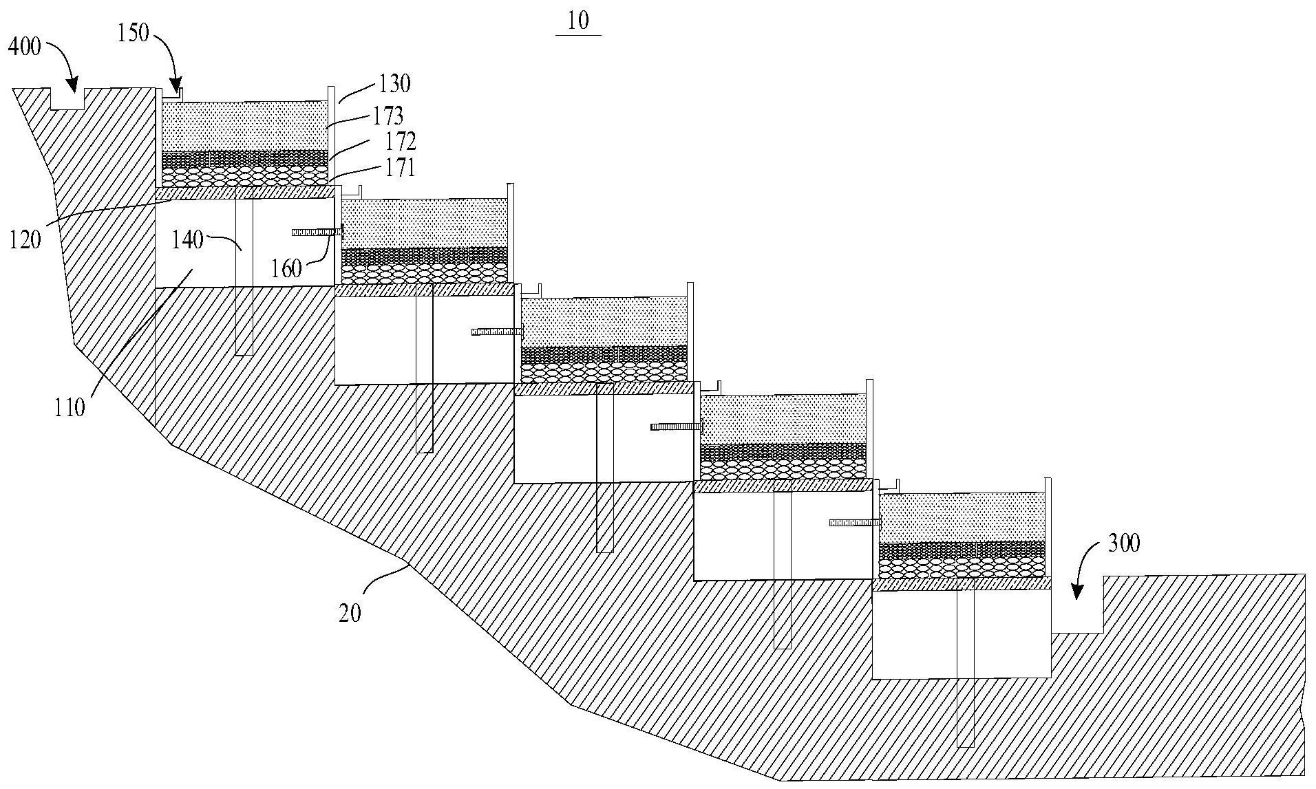
一种用于城市水土保持的防滑坡结构
图片尺寸1912x1147
课题六 坡屋顶构造ppt
图片尺寸1080x810
一种利用建筑结构挡土的坡建合一设计方法
图片尺寸587x418
一种防滑坡建筑结构的制作方法
图片尺寸894x461
一种市政道路设计路面坡面结构
图片尺寸1201x1372
Ⅲ,层状结构—陡倾层状坡体结构 (Ⅲ3)基本特征:软硬相间,互层或间层
图片尺寸640x407
钢筋混凝土坡屋顶的结构设计
图片尺寸562x549
保温隔热层二,坡屋顶承重结构坡屋顶承重结构般可分为桁架结构,梁架
图片尺寸480x649
一种岩土工程边坡加固结构的制作方法
图片尺寸495x500
坡屋顶构造ppt
图片尺寸1080x810