坩埚加热装置图

由于蒸发,浓缩溶液,也可以用于加热干燥少许固体. 3.坩埚
图片尺寸308x295
剂,某课外兴趣小组在实验室用废铁屑与稀硫酸在加热条件下制取feso 4
图片尺寸506x150
实验基础和物质制备 托盘天平 坩埚 坩埚钳 干燥器 玻璃棒 泥三角
图片尺寸1080x810
(1)图1是常见的化学实验装置,实验室用高锰酸钾制取氧气时,可选用的
图片尺寸438x198
4研究有机化合物的一般步骤和方法(第1课时)ppt
图片尺寸1080x810
一,可加热的仪器 2. 坩埚 固体物质的 高温灼烧
图片尺寸1080x810
注意事项:(1)在加热过程中,需用玻璃棒不断搅拌(加快蒸发,防止局部
图片尺寸246x410
坩埚保温装置的制作方法
图片尺寸1056x1252
固体蒸发装置超值套装(坩埚 坩埚钳 三脚架 泥三角)教学仪器
图片尺寸600x800
一种坩埚内衬烘干加热装置的制作方法
图片尺寸396x412
一种坩埚蒸发装置-爱企查
图片尺寸800x654
出; 分离碘并回收苯应用蒸馏的方法,用水浴加热能控制温度不至于太高
图片尺寸618x525
4【答案】c【解析】加热胆矾使之失去结晶水需要坩埚,a项错误
图片尺寸442x394
高一化学必修一总复习答案ppt
图片尺寸1080x810![[化学实验(高一)]坩埚升华碘晶体,这个算是正确实验](https://i.ecywang.com/upload/1/img1.baidu.com/it/u=2057550446,4080913504&fm=253&fmt=auto&app=120&f=JPEG?w=800&h=500)
[化学实验(高一)]坩埚升华碘晶体,这个算是正确实验
图片尺寸1560x975
石英坩埚耐高温,可用来加热熔化naoh固体b.
图片尺寸434x202
套装加热蒸发结晶粗盐提纯提取氯化钠食盐nacl教学仪器
图片尺寸800x692
(1分)某化学兴趣小组的同学设计了如图所示装置测定空气中氧气含量.
图片尺寸583x289
无坩埚底热式加热,保温电炉-爱企查
图片尺寸1548x1394
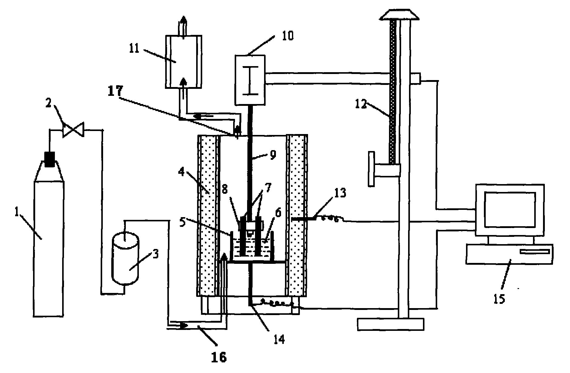
该实验装置主要由反应气瓶,气阀,气体净化装置,加热炉,坩埚,炉渣,耐火
图片尺寸1880x1230