坩埚示意图

(1) (1)ppt 我们老师自制的课件 器仪 托盘( 托)) 天平盘石 棉网 坩埚
图片尺寸1080x810
一种坩埚的制作方法
图片尺寸434x443
一种增强耐磨性能的碳化硅石墨坩埚的制作方法
图片尺寸770x851
由于蒸发,浓缩溶液,也可以用于加热干燥少许固体. 3.坩埚
图片尺寸308x295
一种快速灰分测试坩埚的制作方法
图片尺寸1000x914
一种坩埚的制作方法
图片尺寸1000x711
一种石英坩埚的制作方法
图片尺寸444x295
一种石英坩埚-爱企查
图片尺寸1268x1584
一种中频电炉坩埚-爱企查
图片尺寸488x440
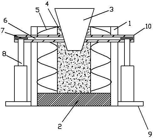
一种拼装式方形石墨坩埚的制作方法
图片尺寸443x419
一种具有热障涂层的多节式炭炭复合材料坩埚及其制备方法和应用与流程
图片尺寸858x872
一种多功能石英坩埚的制作方法
图片尺寸916x1000
cn208632697u_一种高温溶液法生长晶体用的铂金坩埚有效
图片尺寸1000x853
cn2828700y_高效节能坩埚失效
图片尺寸880x937
一种石墨坩埚
图片尺寸1182x1944
石英坩埚用高纯石英砂的要求及"内外法则"
图片尺寸343x367
根据切克劳斯基法提拉半导体单晶和适用于其的石英玻璃坩埚
图片尺寸641x1000
一种多晶用石英坩埚的制作方法
图片尺寸1000x942
一种用于增加rcz用石英坩埚寿命的方法与流程
图片尺寸953x1000
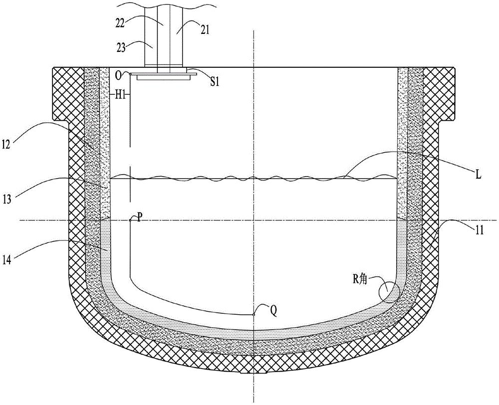
一种半导体级石英坩埚
图片尺寸1000x812