垂直螺旋输送机设计

螺旋输送机
图片尺寸530x570
一种面粉垂直螺旋输送机
图片尺寸1658x2603
ls300螺旋输送机#图纸设计 #图文计划 #产品设计 - 抖音
图片尺寸1912x895
螺旋提升输送机
图片尺寸820x565
ls-dn200螺旋输送机
图片尺寸1695x1186
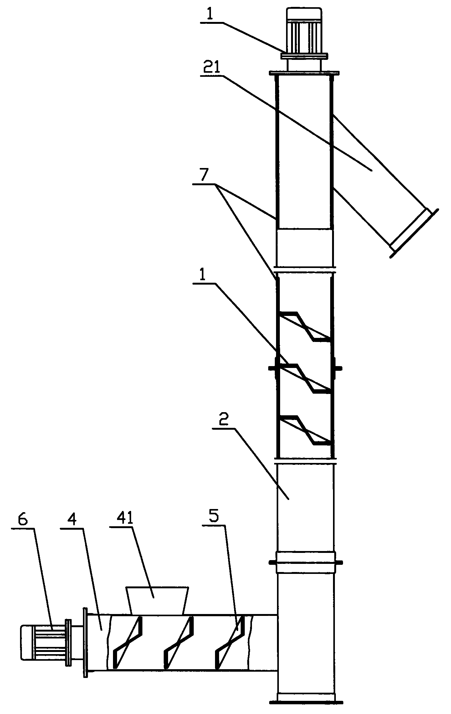
一种垂直管式螺旋输送机
图片尺寸1441x2278
螺旋辊式垂直输送机
图片尺寸820x397
螺旋输送机
图片尺寸1877x598
定制【铭成】不锈钢管式螺旋输送机 爬坡垂直螺旋输送机 定制加工
图片尺寸800x800
螺旋输送机caxa
图片尺寸770x1090
设计订制,如果您需要更详细的螺旋输送机/螺旋提升机/螺旋输送线/垂直
图片尺寸843x596
swl350x2500单螺旋给料机
图片尺寸1159x814
螺旋输送机
图片尺寸778x591
谁有ls400 螺旋输送机 全套图纸(cad文件,dwg格式),请给我传一份,谢谢
图片尺寸683x475
u型螺旋输送机,ls螺旋输送机 螺旋送料机 腾隆机械
图片尺寸800x600
cn105151688a_一种粉料垂直螺旋输送机失效
图片尺寸1000x887
gx1150管式螺旋输送机
图片尺寸787x473
螺旋输送机lsg40000总图dwg图纸
图片尺寸996x698
螺旋输送机装配图
图片尺寸800x500
长距离大输送量螺旋输送机
图片尺寸896x539