垃圾夹内部结构

垃圾夹拾物器垃圾钳火钳取物器取物夹卫生夹长柄夹家用夹子环卫夹
图片尺寸1500x1500
垃圾夹子加长捡拉圾的夹子超长垃圾拾取器长杆拾物器垃圾钳捡拾器
图片尺寸720x775
垃圾夹坏了?教你一步步修复,轻松搞定!
图片尺寸720x960
垃圾夹拾物器垃圾钳火钳拾取物器夹卫生夹长柄夹家用夹子环卫钳子
图片尺寸1500x2322
冰禹 垃圾夹 清洁垃圾钳垃圾拾物器 拾取卫生夹捡垃圾园艺夹子取物器
图片尺寸750x937
垃圾夹子家用捡垃圾的长夹子取物长柄火钳卫生钳环卫工加长拾物器
图片尺寸790x1145
23环卫垃圾夹垃圾钳垃圾拾物器拾取卫生夹捡垃圾园艺
图片尺寸750x1780
生态净则文明兴,垃圾分类,功在当代,利在千秋",小明所在社区开始执行
图片尺寸616x388
垃圾夹子卫生钳环卫捡垃圾的夹子工具拾物器长夹子取物加长柄钳子
图片尺寸800x800
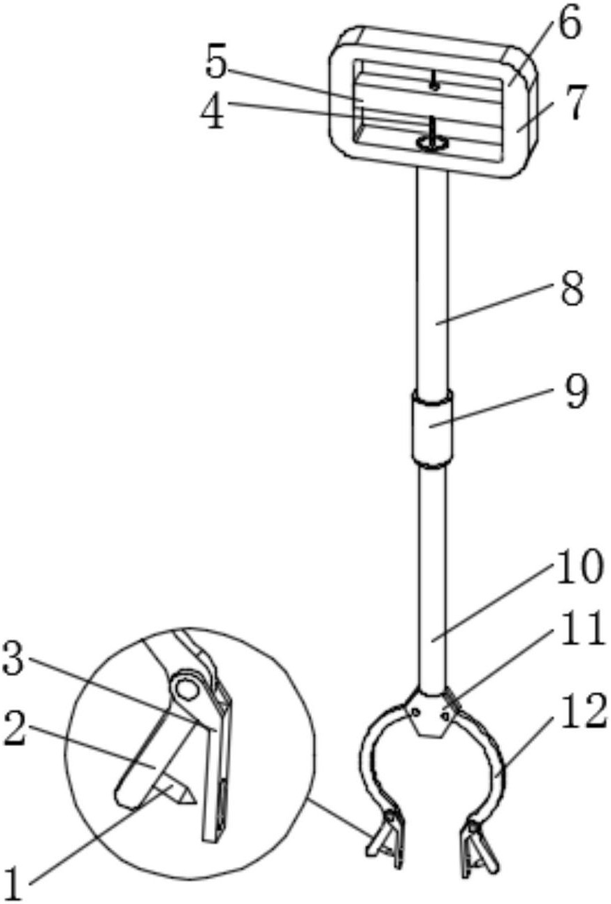
一种捡拾垃圾的工具的制作方法
图片尺寸499x659
卫生夹子捡取垃圾夹取物加长环卫垃圾夹垃圾钳拾取垃圾拾物器 80cm
图片尺寸750x1081
一种环卫清洁用垃圾夹取装置
图片尺寸1667x817
垃圾夹子加长捡拉圾的夹子超长垃圾拾取器长杆拾物器垃圾钳捡拾器
图片尺寸720x959
垃圾夹子卫生钳环卫捡垃圾的夹子可伸缩折叠家用拾物器火钳垃圾夹
图片尺寸750x1512
本发明公开了一种环卫工人用垃圾捡取器,包括夹持机构,控制机构,主杆
图片尺寸874x1293
一种垃圾拾取器的制作方法
图片尺寸444x263
abs垃圾夹子拾物器环保夹卫生夹子环卫捡垃圾钳便携式长柄家用取
图片尺寸790x1009
垃圾夹拾物器加长不锈钢取物器捡垃圾夹子铝合金长柄环卫夹垃圾钳
图片尺寸750x1095
垃圾夹马路厕所下水道清洁环卫工加长拾物钳子户外捡垃圾专用工具
图片尺寸790x1368
捡垃圾的夹子不锈钢火钳捡长柄拾器拾物钳家用加长伸缩夹狗便厕所
图片尺寸750x1161