垃圾夹原理图

一种折叠关节及其安装折叠关节的垃圾夹的制作方法
图片尺寸1000x394
一种具有收集垃圾功能的河道垃圾夹取装置的制作方法
图片尺寸1000x328
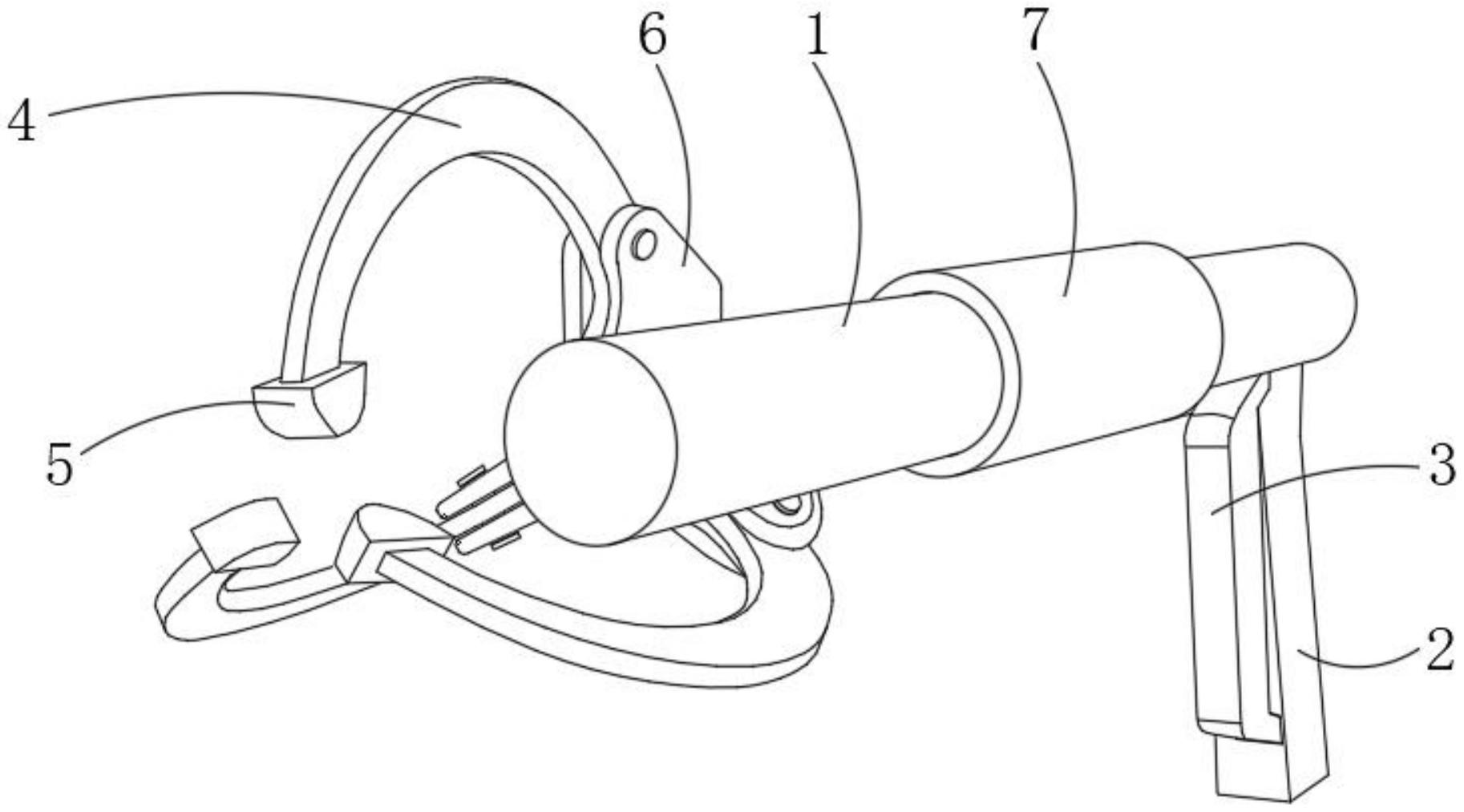
一种折叠关节及其安装折叠关节的垃圾夹_cn201920760332.8_知雀网
图片尺寸1000x709
一种折叠关节及其安装折叠关节的垃圾夹_cn201920760332.8_知雀网
图片尺寸1000x391
一种捡拾垃圾的工具的制作方法
图片尺寸499x659
垃圾夹
图片尺寸376x111
涉及到一种新型便携性电动捡拾器,广泛使用在例如生活垃圾电动捡拾
图片尺寸443x318
一种市政湖面垃圾打捞夹
图片尺寸1826x1013
一种垃圾桶夹持装置的制作方法
图片尺寸486x486
一种厨房生活垃圾袋夹子的制作方法
图片尺寸439x535
一种垃圾拾取器的制作方法
图片尺寸444x263
一种垃圾夹捡拾物器的制作方法
图片尺寸1107x1873
例3,图4是一种垃圾夹的结构示意图.
图片尺寸1080x810
连接在手柄前端的长杆,铰接在长杆上的垃圾袋夹紧圈,连接在垃圾袋夹紧
图片尺寸1404x1563
一种基于垃圾拾取的机械手结构制造技术
图片尺寸1000x529
拾荒工具 捡垃圾的夹子垃圾夹拾物器卫生钳环卫工人专用工具加长柄取
图片尺寸790x1435
本实用新型涉及夹持器技术领域,具体为一种实用简单的垃圾拾捡器.
图片尺寸663x1000
一种垃圾拾取器的制作方法
图片尺寸898x1000
背景技术:环卫工人在清洁马路时,最常用的工具之一便是垃圾夹,用于捡
图片尺寸896x1000
超长款垃圾钳多用夹小型长柄钳取物器保洁员捡垃圾夹子拾物器加长
图片尺寸790x950